Запчасти Case 1150E (8-050) - DOZER ANGLE HYDRAULIC CIRCUIT, ANGLE TILT PITCH DOZER MODELS GRILLE TO CYLINDERS (08) - HYDRAULICS

Схема запчастей Case 1150E - (8-050) - DOZER ANGLE HYDRAULIC CIRCUIT, ANGLE TILT PITCH DOZER MODELS GRILLE TO CYLINDERS (08) - HYDRAULICS
5
34
13
6
31
4
31
32
41
25
31
2
20
6
17
6
42
21
8
4
12
33
16
22
29
36
10
19
38
14
32
15
3
6
35
18
7
40
11
29
23
27
37
28
39
10a
7
1
31
3
8
39
41
9
26
FIT
1:1
100%

Артикул

Название

Примечание

Количество

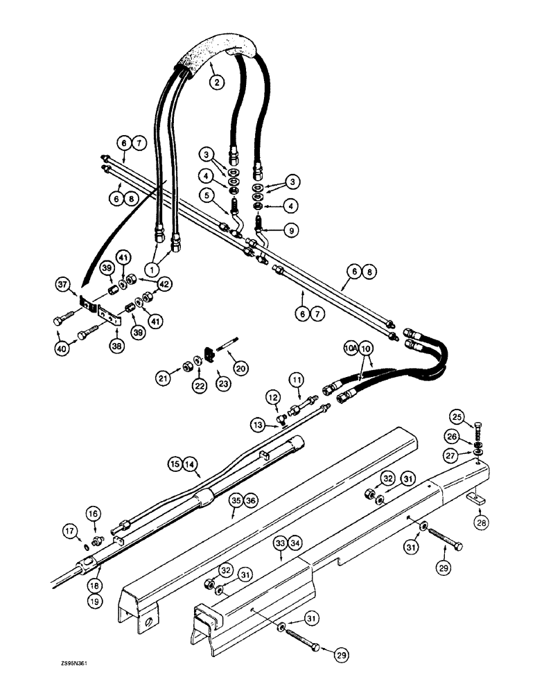
1

R28970

HOSE,12.70 mm ID x 1473.00 mm, SAE 100R2

- Grille, to tubes 12.70 mm ID x 1473.00 mm, SAE 100R2

2шт.

2

R52544

HOSE PROTECTION

SLEEVE - nylon, hose protector

1шт.

3

D35268

SHIM,1/32" Thk

(25/32" ID x 1-1/4" OD), One on each side of upper hose guard (item 27 on Figure 8-44) 1/32" Thk

4шт.

4

218-1255

BHD LOCK NUT,Blkhd, 3/4"-16

NUT, LOCK, Blkhd, 3/4"-16

2шт.

5

R45211

PIPE,12.7 mm OD x 76, 31 mm L

TUBE - tee, upper

1шт.

6

R45185

PIPE,12.7 mm OD x 1100 mm L

TUBE - upper right-hand and lower left-hand on 62 inch gauge standard models, upper left-hand and lower right-hand on 74 inch gauge wide track models

2шт.

7

R45187

PIPE,12.7 mm OD x 949 mm L

TUBE - upper left-hand and lower right-hand on 62 inch gauge standard models

2шт.

8

S45303

WASHER

- upper right-hand and lower left-hand on 74 inch gauge wide track models

2шт.

9

R45213

PIPE,12.7 mm OD x 104, 34 mm L

TUBE - tee, lower

1шт.

10

W11354

HOSE

- 36 inch (914 mm) long, 62 inch gauge standard models

4шт.

10a

R29011

HOSE

- 38 inch (965 mm) long, 74 inch gauge wide track models

4шт.

11

R36864

TUBE,0.5" OD x 3.66, 0.2" L

- to closed end of angle cylinder

2шт.

12

218-5121

ELBOW,90 Degree Elbow, 3/4" - 16 Male JIC x 7/8" - 14 Male ORB

- 90 degree, 3/4-16 flare x 7/8-14 inch adj O-ring boss, adjustable, Includes: Ref. 13

2шт.

13

237-6010

O-RING,0.097" Thk x 0.755" ID, -910, Cl 6, 90 Duro

10-1, 90 Duro, .755" ID x .097" Thk, Elbow

1шт.

14

R36725

TUBE,0.5" OD x 53.12" L

- rod end of cylinder, 62 inch gauge standard models

2шт.

15

R45288

PIPE,0.5" OD

TUBE - rod end of cylinder, 74 inch gauge wide track models

2шт.

16

218-5060

HYD CONNECTOR,3/4" - 16 Male JIC x 7/8" - 14 Male ORB

Adapter, straight, O-ring boss, Incl. Ref 17 3/4"-16, 37º x 7/8"-14, O-Ring

2шт.

17

237-6010

O-RING,0.097" Thk x 0.755" ID, -910, Cl 6, 90 Duro

10-1, 90 Duro, .755" ID x .097" Thk, Adapter

1шт.

18

G101266

CYLINDER ASSY.

CYLINDER ASSEMBLY - angle, 3 (76) ID x 47-7/8 inch (1165 mm) stroke, parts list Figure 8-74

2шт.

19

G104570

CYLINDER ASSY.

CYLINDER ASSEMBLY - angle, 3 (76) ID x 51-1/8 inch (1298 mm) stroke, parts list Figure 8-74

2шт.

20

R49736

STUD

- clamp mounting

6шт.

21

425-106

NUT,3/8"-16, Cl 5

6шт.

22

495-11041

WASHER,0.406" ID x 0.812" OD x 0.065" W

(Flat, 13/32 x 13/16 x 1/16") 3/8", SAE

6шт.

23

D120679

CLAMP,Tube, 1/2"

- tube

6шт.

25

413-836

BOLT,Hex, 1/2" - 13 x 2-1/4", Gr 5

- hex, 1/2 NC x 2-1/4 inch

2шт.

26

80679

LOCK WASHER,1/20.507 CST ZND

WASHER, LOCK, 1/2"

2шт.

27

195-533

WASHER,1/2", SAE

- flat, 17/32 x 1-1/16 x 3/32 inch

2шт.

28

R35933

BLOCK

- tapped

2шт.

29

413-872

BOLT,Hex, 1/2" - 13 x 4-1/2", Gr 5

- hex, 1/2 NC x 4-1/2 inch

4шт.

31

195-533

WASHER,1/2", SAE

- flat, 17/32 x 1-1/16 x 3/32 inch

8шт.

32

230-4218

LOCK NUT,1/2"-13, GA

NUT - hex, self-locking, 1/2 inch NC

4шт.

33

R45057

PROTECTOR

GUARD - angle cylinder, 62 inch gauge standard models

2шт.

34

R45259

GUARD ASSY.

GUARD - angle cylinder, 74 inch gauge wide track models

2шт.

35

R46098

GUARD ASSY.

GUARD - angle cylinder rod, 62 inch gauge standard models

2шт.

36

R46100

GUARD ASSY.

GUARD - angle cylinder rod, 74 inch gauge wide track models

2шт.

37

D40236

CLAMP

- hose, left-hand, above front hose guard

1шт.

38

R27400

CLAMP

- hose, right-hand, above front hose guard

1шт.

39

R46493

SPACER,0.406" ID x 0.625" OD x 0.850" Thk

- split, clamp mounting

3шт.

40

413-632

BOLT,Hex, 3/8" - 16 x 2", Gr 5

- hex, 3/8 NC x 2 inch

3шт.

41

495-11041

WASHER,0.406" ID x 0.812" OD x 0.065" W

(Flat, 13/32 x 13/16 x 1/16") 3/8", SAE

3шт.

42

232-1446

NUT,3/8"-16, GC

NUT, LOCK, 3/8"-16, GC

3шт.

Выбрано товаров: 41