Запчасти Case 1150E (8-126) - DOZER LIFT SECTION (08) - HYDRAULICS

Схема запчастей Case 1150E - (8-126) - DOZER LIFT SECTION (08) - HYDRAULICS
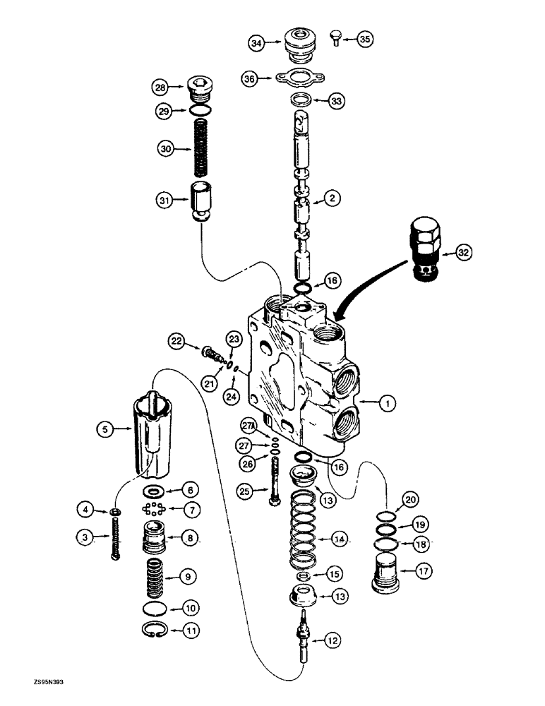
13
34
29
18
18
24
13
21
4
17
22
2
25
27
1
26
35
28
9
33
15
11
32
8
36
30
27a
23
6
12
16
14
20
10
31
7
19
5
3
FIT
1:1
100%

Артикул

Название

Примечание

Количество

N14018

VALVE

SECTION ASSEMBLY - dozer lift, ID No. 316, Includes: Ref. 1 - 36

1шт.

1

NSS

NOT SOLD SEPARAT

BODY - section

1шт.

2

NSS

NOT SOLD SEPARAT

SPOOL - section

1шт.

3

61-32536

HEX SOC SCREW,1/4"-20 x 2 1/4"

BOLT - hex socket, 1/4 NC x 2-1/4 inch

2шт.

4

492-11025

LOCK WASHER,1/4"

WASHER, LOCK, 1/4"

2шт.

5

N14194

HOUSING

- detent

1шт.

6

A48931

WASHER

- guide

1шт.

7

211-1007

BALL,7/32" Dia

- chrome alloy steel, 7/32", Gr 24

8шт.

8

N14196

PISTON

- detent

1шт.

9

A48934

SPRING

- detent

1шт.

10

A48933

RING

RETAINER - piston

1шт.

11

A30975

SNAP RING,1.188", Int, #118

1шт.

12

N14193

SHAFT

- detent

1шт.

13

CASR30191

RETAINER

SEAT - centering spring

2шт.

14

R30192

SPRING

- centering, spool

1шт.

15

N14192

SPACER

- detent shaft

1шт.

16

D150707

O-RING,0.862" ID x 1.068" OD

- spool

2шт.

17

R30167

PLUG

- section body

1шт.

R30174

GASKET KIT

KIT - seal, Includes: Ref. 18 - 20

1шт.

18

NSS

NOT SOLD SEPARAT

O-RING - large

1шт.

19

NSS

NOT SOLD SEPARAT

BACKUP RING - small O-ring

1шт.

20

NSS

NOT SOLD SEPARAT

O-RING - small, inner

1шт.

21

211-1006

BALL,3/16" Dia

- chrome alloy steel, 3/16 inch, grade 24

1шт.

A47210

PLUG

SHUTTLE ASSEMBLY - secondary, Includes: Ref. 22 - 24

1шт.

22

A47204

PLUG

BODY - shuttle

1шт.

R30185

SEAL KIT

KIT - seal, Includes: Ref. 23 & 24

1шт.

23

237-6003

O-RING,0.064" Thk x 0.301" ID, -903, Cl 6, 90 Duro

3-1, .301" ID x .064" Thk

1шт.

24

238-6008

O-RING,0.07" Thk x 0.176" ID, -8, Cl 6, 90 Duro

1шт.

D87080

VALVE

SHUTTLE ASSEMBLY - primary, Includes: Ref. 25 - 27A

1шт.

25

NSS

NOT SOLD SEPARAT

BODY - shuttle

1шт.

26

237-6004

O-RING,0.072" Thk x 0.351" ID, -904, Cl 6, 90 Duro

4-1, 90 Duro, .351" ID x .072" Thk

1шт.

27

238-6010

O-RING,0.07" Thk x 0.239" ID, -10, Cl 6, 90 Duro

Center -010, 90 Duro, .239" ID x .070" Thk

1шт.

27a

238-6009

O-RING,0.07" Thk x 0.208" ID, -9, Cl 6, 90 Duro

Inner -009, 90 Duro, .208" ID x .070" Thk

1шт.

28

9841223

PLUG,1-1/16" - 12 ORB

Incl. Ref. 29 Hex Soc, 1 1/16"-12 ORB

1шт.

29

237-6012

O-RING,0.116" Thk x 0.924" ID, -912, Cl 6, 90 Duro

12-1, 90 Duro, .924 ID x .116" Thk, Plug

1шт.

30

R30189

SPRING

- load check

1шт.

31

D87082

VALVE POPPET

POPPET - load check

1шт.

32

N14024

VALVE

ASSEMBLY - anticavitation, parts list Figure 8-132

1шт.

A48938

KIT

- filter, body and spool

1шт.

33

A47205

SEAL,22.61mm ID x 32.13mm OD x 2.67mm Thk

FILTER - spool

1шт.

34

A47188

COVER

- dust

1шт.

35

86019274

SCREW,Hex, 1/4"-20 x 1/2", G5

- retainer

2шт.

36

A47196

RETAINER

- filter

1шт.

Выбрано товаров: 43