Запчасти Case 1150E (9-002) - LOADER LIFT FRAME, MOUNTING PARTS AND LIFT CYLINDERS (09) - CHASSIS/ATTACHMENTS

Схема запчастей Case 1150E - (9-002) - LOADER LIFT FRAME, MOUNTING PARTS AND LIFT CYLINDERS (09) - CHASSIS/ATTACHMENTS
7
4
8
16
4
3
24
3
32
28
22
7
37
29
9
32
2
17
11
35
4
25
17
3
2
21
3
33
8a
31
34
10
6
36
13
15
32
8
24
27
30
23
8a
12
14
26
20
4
19
1
FIT
1:1
100%

Артикул

Название

Примечание

Количество

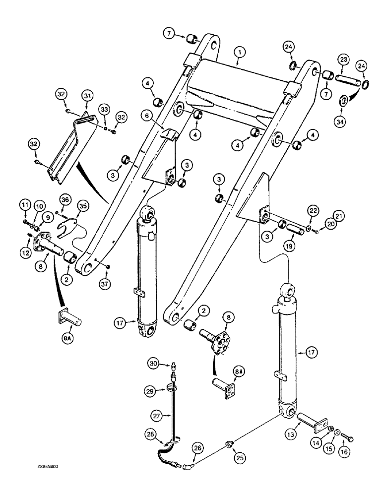
1

R56019

LOWER LINK

FRAME - loader lift, with tapped blocks for clam bucket hydraulics, if used, not shown, Includes: Ref. 2 - 7

1шт.

For the tapped blocks welded to the loader lift frame on models with clam bucket hydraulics, see Figure 8-20.

1шт.

1

R58661

ARM

FRAME - loader lift, without tapped blocks for clam bucket hydraulics, if used, Includes: Ref. 2 - 7

1шт.

For the tapped blocks welded to the loader lift frame on models with clam bucket hydraulics, see Figure 8-20.

1шт.

2

R27011

BUSHING,63.75mm ID x 76.2mm OD x 63.5mm L

- pivot, lift frame at main frame, 3 inch (76 mm) O.D. x 2-1/2 inch (63 mm) ID

2шт.

3

D38943

BUSHING,51.02mm ID x 63.5mm OD x 28.6mm L

- lift cylinder pivot, 1-1/8 inch (28 mm) wide

4шт.

4

D31142

BUSHING,51.02mm ID x 63.5mm OD x 38.1mm L

- pivot, 2 ID x 1-1/2 inch long, bucket tilt lever

4шт.

5

R41185

SUPPORT

BRACKET - rub, right hand, not shown, opposite of Ref. 6

1шт.

6

R41186

SUPPORT

BRACKET - rub, left hand

1шт.

7

D34506

BUSHING,51.02mm ID x 63.5mm OD x 63.5mm L

- pivot, bucket tilt links

2шт.

8

R45895

PIN

- lift frame to main frame, if used

2шт.

8a

R57547

PIN

- Lift frame to main frame, if used

2шт.

9

T31129

BUSHING,19.66mm ID x 31.75mm OD x 17.48mm L

- pin

4шт.

10

496-31081

WASHER,13/16" x 1 1/2" x .219", HDN

- flat, 13/16 x 1-1/2 x 7/32 inch, hardened

4шт.

11

326-1232

BOLT,Hex, 3/4" - 10 x 2", Gr 8

Use with Loctite 242 Hex, 3/4"-10 x 2", G8

4шт.

12

219-1

LUBE NIPPLE,1/8" - 27 NPTF

FITTING - grease, straight, 1/8 PT x 21/32 inch

2шт.

13

R30127

PIN

- lift cylinder to main frame

2шт.

14

T31129

BUSHING,19.66mm ID x 31.75mm OD x 17.48mm L

- pin

2шт.

15

496-31081

WASHER,13/16" x 1 1/2" x .219", HDN

- flat, 13/16 x 1-1/2 x 7/32 inch, hardened

2шт.

16

326-1232

BOLT,Hex, 3/4" - 10 x 2", Gr 8

Use with Loctite 242 Hex, 3/4"-10 x 2", G8

2шт.

17

REF

INSTRUCTION

CYLINDER ASSEMBLY - loader lift, for correct assembly and components, see Figure 8-56

2шт.

19

R27086

PIN

- pivot, lift cylinder to loader lift frame

2шт.

20

413-1016

BOLT,Hex, 5/8" - 11 x 1", Gr 5

- hex, 5/8 NC x 1 inch, replaces 1-1/4 inch bolt and lock washer used on some models

2шт.

21

B17068

ADHESIVE

- Loctite No. 242, 6 ml tube, use with Ref. 20 bolt

1шт.

22

70523

WASHER,16.67mm ID x 47.63mm OD x 6.35mm Thk

- flat, special, pin retaining

2шт.

23

R27061

PIN

- pivot, loader lift, Serial Range: frame-bucket

2шт.

24

103-16200

SNAP RING,#200, Ext

Ring, Snap, , Pin #200, Ext

4шт.

25

221-84

REDUCER,Hex, 1/4" x 1/8" NPT

- pipe, 1/4 male x 1/8 inch female

2шт.

26

221-1401

ELBOW,45º, 1/8"-27, NPT

- street, 45 degree, 1/8 inch PT

2шт.

27

R40124

HOSE

- 25 inch (635 mm) long, lube

2шт.

28

L18337

CABLE TIE,9.95"-12.1" lg

STRAP - tie, 15 inch, nylon

2шт.

29

214-1420

HOSE CLAMP,#20, 0.81" - 1.75", Type F Worm

CLAMP, HOSE, , Adj. #20, 0.81/1.75 Type F Worm

2шт.

30

219-60

LUBE NIPPLE,1/8" - 27 Female NPTF

FITTING - grease, straight, 1/8 female PT x 1 inch, female

2шт.

31

R46257

SUPPORT

STRUT - support

1шт.

32

160-108

BOLT,Hex, 1/2" - 13 x 1 1/2", Gr 8, Full Thd

- hex flange, 1/2 NC x 1-1/2 inch, grade 8

3шт.

33

L58752

TUBE SPACER,13.53mm ID x 19.05mm OD x 18.28mm L

SPACER - strut mounting, 23/32 inch long

1шт.

34

D37449

SHIM,.0747" Thk

Bucket at lift frame (2-1/32" ID) .0747" Thk

1шт.

35

R51763

SHIM,1.981mm Thk

Loader lift frame mounting 1.981mm Thk

1шт.

36

413-856

BOLT,Hex, 1/2" - 13 x 3-1/2", Gr 5

- hex, 1/2 NC x 3-1/2 inch

2шт.

37

232-4118

NUT,1/2"-13, GC

NUT, LOCK, 1/2"-13, GC

2шт.

Выбрано товаров: 40