Запчасти Case 1150E (9-026) - 74 INCH GAUGE LONG TRACK ANGLE TILT DOZER MODELS, BLADE AND TILT CYLINDER MOUNTING (09) - CHASSIS/ATTACHMENTS

Схема запчастей Case 1150E - (9-026) - 74 INCH GAUGE LONG TRACK ANGLE TILT DOZER MODELS, BLADE AND TILT CYLINDER MOUNTING (09) - CHASSIS/ATTACHMENTS
33
17
31
1
37
7
4
29
42
34
30
25
10
11
21
39
24
2
18
33
18
34
3
28
27
15
9
32
12
14
40
8
19
40
29
2a
38
16
26
2
35
23
20
41
13
5
22
27
23
36
FIT
1:1
100%

Артикул

Название

Примечание

Количество

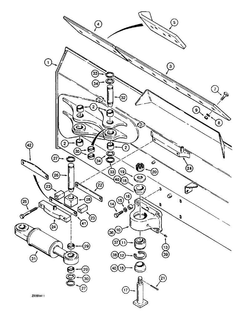
1

R57333

BULL BLADE

BLADE - 124 inch (3140 mm) long, long track angle tilt dozer models, was R54651, Includes: Ref. 2 & 2A

1шт.

2

D30756

BUSHING,51.02mm ID x 63.5mm OD x 31.8mm L

- 2 ID x 1-1/4 inch long, cylinder mounting

6шт.

2a

R100146

KIT

PLATE - retainer

1шт.

3

R54419

EDGE, CUTTING

EDGE - cutting, center

2шт.

4

R42470

EDGE, CUTTING

EDGE - cutting, end, standard, if used

2шт.

5

R41351

EDGE, CUTTING

EDGE - cutting, left-hand, heavy duty, end, if used

1шт.

6

R41352

EDGE, CUTTING

EDGE - cutting, right-hand, heavy duty, end, if used, not shown

1шт.

7

R56473

PLOW BOLT

BOLT - plow, dome head, 5/8 NC x 2-1/4 inch grade 8

22-26шт.

8

492-11062

BEARING WASHER,5/8"

WASHER, LOCK, 5/8"

22-26шт.

9

429-1010

NUT,5/8"-11, G8

22-26шт.

R55840

PIVOT

BRACKET ASSEMBLY - pivot, no longer used, order R58345 bracket assembly and two R55700 spacers, ref 36 - 40 below, Includes: Ref. 10 - 13

1шт.

10

NSS

NOT SOLD SEPARAT

BRACKET - pivot

1шт.

11

R41800

SPHERICAL BEARING,69.85mm ID x 111.13mm OD x 61.11mm W

- self-aligning, sealed, heavy duty, 4-3/8 inch OD

1шт.

12

R32220

SNAP RING,4.331", Int, #433

RING - snap, bushing, 4-3/8 inch

1шт.

13

219-1

LUBE NIPPLE,1/8" - 27 NPTF

FITTING - grease, straight, 1/8 PT x 21/32 inch

1шт.

14

326-1256

BOLT,Hex, 3/4" - 10 x 3-1/2", Gr 8

4шт.

15

D34666

WASHER,33.34mm ID x 63.5mm OD x 2.38mm Thk

- flat, special, hardened

4шт.

16

R30398

SPACER

- pivot bracket mounting

4шт.

17

R45099

PIN

- pivot

1шт.

18

R45224

SPACER

- for R55840 bracket, 41 mm height

2шт.

19

R26660

WASHER,40.39mm ID x 101.6mm OD x 12mm Thk

- flat, special

1шт.

20

25-1224

SLOTTED NUT,1 1/2"-6, G5

NUT - hex, slotted, 1-1/2 inch NC, slotted

1шт.

21

432-1640

COTTER PIN,1/4" x 2 1/2"

Pin, Split (Cotter), 1/4" x 2 1/2"

1шт.

22

R57681

PLATE

- wear, outer, was R54723

1шт.

23

R54725

SPACER

BLOCK - spacer

2шт.

24

R55061

RETAINER

- block, upper pin

1шт.

25

326-12112

BOLT,Hex, 3/4" - 10 x 7", Gr 8

2шт.

26

R54769

PIN,50.77mm OD x 284.8mm L

- 9-3/4 inch retaining length, upper pivot, C-frame and rod end of tilt cylinder

1шт.

27

103-16200

SNAP RING,#200, Ext

Ring, Snap, , Upper pivot pin #200, Ext

2шт.

28

R57680

BLOCK

- pivot pin retaining, was R54724

1шт.

29

R53383

WASHER,52.32mm ID x 57.15mm OD x 17mm L

SPACER - pin, tilt cylinder mounting

2шт.

30

95-81155

WASHER,52.38mm ID x 76.2mm OD x 3.35mm Thk

- flat, 2-1/16 x 3 x 1/8 inch

1шт.

31

G110694

CYLINDER ASSY.,Double Acting, 63.5mm Rod, 119.9mm Stroke

CYLINDER ASSEMBLY - 5 (127) ID x 4-3/4 inch (120 mm) stroke, tilt parts list Figure 8-70

1шт.

31

87377322R

REMAN-HYD CYLINDER

1150E, 1155E, Both CASE CRAWLER TRACTOR, CYLINDER ASSEMBLY - 5 (127) ID x 4-3/4 inch , Reman for New PN G110694(120 mm) stroke

1шт.

31

87377322C

CORE-HYD CYLINDER

Return Number

1шт.

32

R54768

PIN,50.77mm OD x 195.8mm L

- 6-1/4 inch retaining length, closed end of tilt, Serial Range: cylinder-blade

1шт.

33

103-16200

SNAP RING,#200, Ext

Ring, Snap, , Pin #200, Ext

2шт.

34

95-81155

WASHER,52.38mm ID x 76.2mm OD x 3.35mm Thk

- flat, 2-1/16 x 3 x 1/8 inch

1шт.

35

R53383

WASHER,52.32mm ID x 57.15mm OD x 17mm L

SPACER - pin, tilt cylinder mounting

2шт.

R58345

PIVOT

BRACKET ASSEMBLY - pivot, if used

1шт.

36

NSS

NOT SOLD SEPARAT

BRACKET - pivot

1шт.

37

R55698

SPHERICAL BEARING,69.85mm ID x 120.65mm OD x 70.87mm W

- self-aligning, 4-3/4 inch (121 mm) OD, sealed

1шт.

38

39325

SNAP RING,4.75", Int, #475

Ring, Snap, , bushing 4.75", Int, #475

1шт.

39

219-1

LUBE NIPPLE,1/8" - 27 NPTF

FITTING - grease, straight, 1/8 PT x 21/32 inch

1шт.

40

R55700

SPACER

- pin mounting, for R58345 bracket, 36 mm height

2шт.

41

R54723

WEAR PLATE

PLATE - wear, inner, 6 mm thick, order R57679 below

1шт.

42

R57679

WEAR PLATE

PLATE - wear, inner, 10 mm thick

1шт.

Выбрано товаров: 47