Запчасти Case 1150E (3-06) - FUEL TANK, PARTS USED ONLY ON MODELS WITH A CAB (03) - FUEL SYSTEM

Схема запчастей Case 1150E - (3-06) - FUEL TANK, PARTS USED ONLY ON MODELS WITH A CAB (03) - FUEL SYSTEM
21
23
3
16
6
12
10
28
26
25
9
24
19
17
11
7
8
2
20
1a
5
13
18
4
15
22
1
14
27
FIT
1:1
100%

Артикул

Название

Примечание

Количество

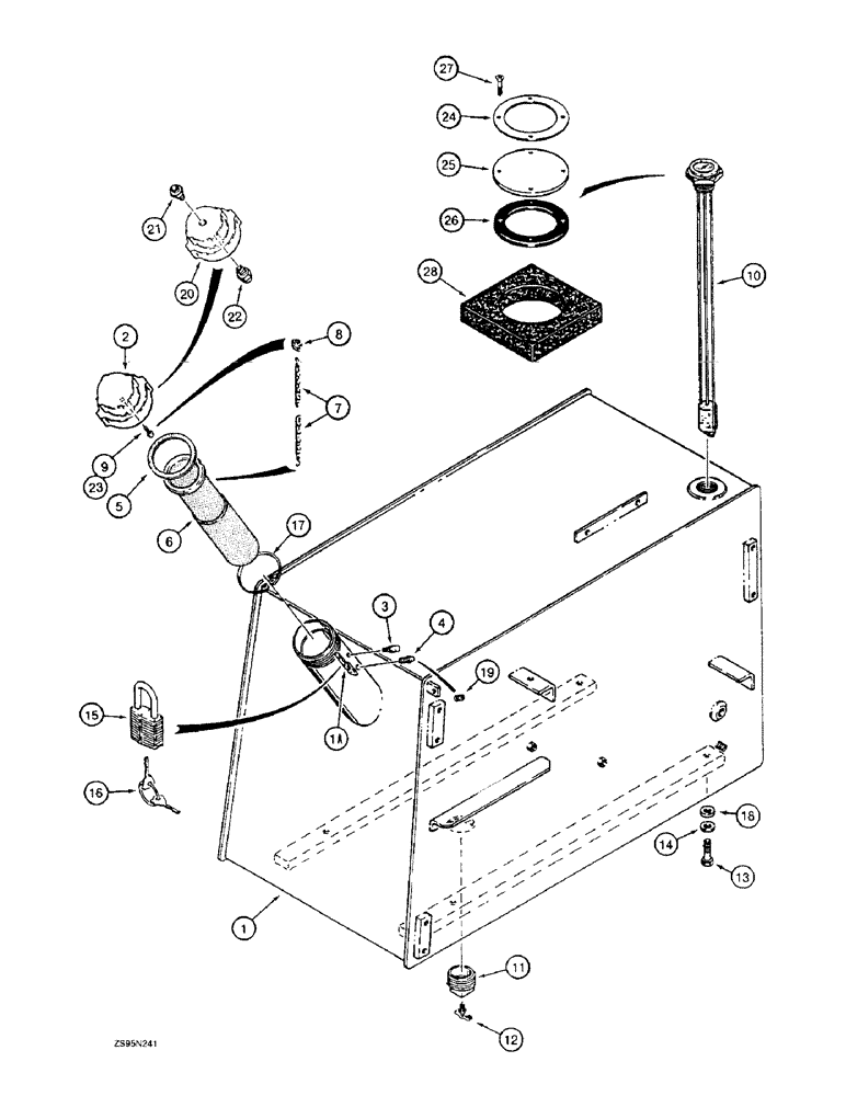
1

R58453

FUEL TANK

TANK - fuel, was R47942, Includes: Ref. 1 & 2

1шт.

1

R46704

BRACKET

TAB - locking, fuel cap, weld on

1шт.

2

R46693

CAP

- fuel tank, without air inlet, used on tanks with air inlet in filler neck, if used, see Ref. 20 below

1шт.

3

D33028

VALVE

- relief, fuel tank, if used

1шт.

4

D33027

BREATHER

VALVE - air inlet, fuel tank, no longer available, order R57981 cap assembly and 217-436 plug Ref. 19 - 23 below

1шт.

5

R49868

GASKET,72mm ID x 90mm OD x 3mm Thk

- rubber, fuel cap

1шт.

6

R51771

STRAINER ASSY.

STRAINER - fuel, 600 micron

1шт.

7

R47786

CHAIN (CE)

CHAIN - filler, Serial Range: cap-strainer

1шт.

8

R48634

FASTENER

HOOK - chain

1шт.

9

301-14712

SCREW,Drive, #12 x 3/4"

- drive, round head, No. 12 x 3/4 inch

1шт.

10

R49775

FUEL GAUGE

GAUGE - fuel tank

1шт.

11

R27578

PLUG

- drain

1шт.

12

217-81

VALVE

- drain, 1/8 inch PT, fuel tank

1шт.

13

413-1016

BOLT,Hex, 5/8" - 11 x 1", Gr 5

- hex, 5/8 NC x 1 inch

4шт.

14

96-21066

WASHER,21/32" x 1 5/16" x .150", HDN

- flat, 21/32 x 1-5/16 x 5/32 inch, hardened

4шт.

15

D93753

PADLOCK

- fuel tank, includes keys, if used, Includes: Ref. 16

1шт.

16

R29555

KEY

- for Master padlock only

2шт.

16

D93751

SET OF 2 KEYS

KEY - for Yale padlock only

2шт.

17

103-21300

SNAP RING,3.00", Int, #300

Ring, Snap, , Fuel strainer, chain 3.00", Int, #300

1шт.

18

D44330

SHIM,.031" Thk

(21/32" ID x 1-1/4" OD), Special, Tank leveling, if used .031" Thk

1шт.

19

217-436

PLUG,Hex Soc, 3/8" - 18 NPTF

- hex socket, 3/8 inch PT, used on models with vented fuel cap Ref. 20 - 23 below

1шт.

R57981

FILLER CAP

CAP - fuel tank, Includes: Ref. 20 - 23

1шт.

20

NSS

NOT SOLD SEPARAT

CAP - fuel tank

1шт.

21

R57888

FILTER

- air inlet

1шт.

22

A50096

VALVE

- relief

1шт.

23

301-14712

SCREW,Drive, #12 x 3/4"

- drive, round head, No. 12 x 3/4 inch, plated

1шт.

24

R53852

RING

- retainer, fuel gauge cover, attaches to top of cab panel

1шт.

25

R51354

COVER

- fuel gauge, clear plastic

1шт.

26

R53234

GASKET

- fuel gauge cover

1шт.

27

260-16512

SELF-TAP SCREW,Cross Pan Hd, #10 x 3/4"

SCREW - self-tapping, pan Phillips, No. 10-16 x 3/4 "

4шт.

28

R50587

SEAL

- foam, between fuel tank and cab panel, attach with adhesive B504266, see below

1шт.

B504266

ADHESIVE

- 5 fluid ounces, use to attach foam seal to metal plates

1шт.

Выбрано товаров: 32