Запчасти Case 1150G (9-004) - 74 INCH GAUGE TRACK, BLADE AND TILT CYLINDER MOUNTING (05) - UPPERSTRUCTURE CHASSIS

Схема запчастей Case 1150G - (9-004) - 74 INCH GAUGE TRACK, BLADE AND TILT CYLINDER MOUNTING (05) - UPPERSTRUCTURE CHASSIS
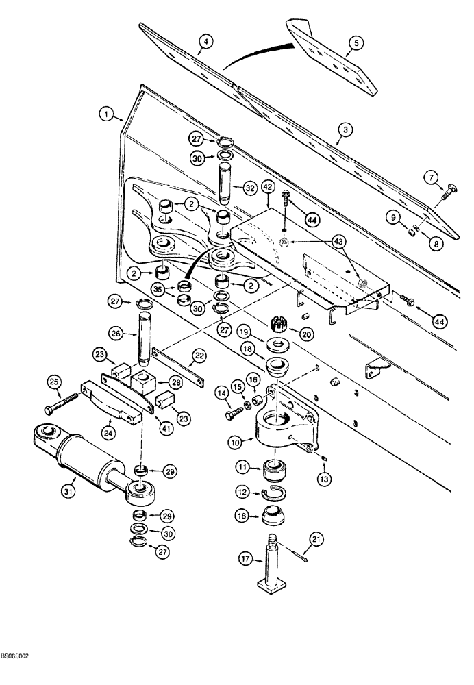
18
17
35
25
29
27
31
27
30
27
2
2
22
4
20
27
30
26
43
1
14
2
7
24
18
8
23
23
44
30
42
5
10
19
15
41
13
21
44
16
32
29
11
12
9
28
3
FIT
1:1
100%

Артикул

Название

Примечание

Количество

1

179434A2

BLADE

3140 mm (124 inch) long, Includes: Ref. 2

1шт.

2

D30756

BUSHING,51.02mm ID x 63.5mm OD x 31.8mm L

2 x 2-1/2 x 1-1/4 inch, cylinder mounting

6шт.

3

126519A1

EDGE

cutting, center, 2258 mm (89 inch) long

1шт.

4

R42490

END

EDGE cutting, standard, if used

2шт.

5

R41910

EDGE, CUTTING

heavy duty, left-hand, if used

1шт.

6

R41911

EDGE, CUTTING

heavy duty, right-hand, if used, not shown

1шт.

7

R56474

PLOW BOLT

plow, 3/4 NC x 2-1/2 inch, grade 8

25шт.

8

92-11075

LOCK WASHER,3/4"

25шт.

9

29-1012

NUT,3/4"-10, G8

25шт.

R58345

PIVOT

BRACKET, Includes: Ref. 10 - 13

1шт.

10

NSS

NOT SOLD SEPARAT

BRACKET pivot

1шт.

11

R55698

SPHERICAL BEARING,69.85mm ID x 120.65mm OD x 70.87mm W

self-aligning, 121 mm (4-3/4 inch) OD, sealed

1шт.

12

39325

SNAP RING,4.75", Int, #475

bushing 4.75", Int, #475

1шт.

13

219-1

LUBE NIPPLE,1/8" - 27 NPTF

1шт.

14

326-1256

BOLT,Hex, 3/4" - 10 x 3-1/2", Gr 8

Use with blue Loctite No. 242, shown below

4шт.

15

D34666

WASHER,33.34mm ID x 63.5mm OD x 2.38mm Thk

flat, special, 3/4 inch, hardened

4шт.

16

R30398

SPACER

SPACER pivot bracket mounting

4шт.

17

R45099

PIN

pivot

1шт.

18

R55700

SPACER

pin mounting

2шт.

19

R26660

WASHER,40.39mm ID x 101.6mm OD x 12mm Thk

flat, special

1шт.

20

25-1224

SLOTTED NUT,1 1/2"-6, G5

hex, slotted, 1-1/2 inch NC

1шт.

21

432-1640

COTTER PIN,1/4" x 2 1/2"

1/4" x 2 1/2"

1шт.

22

R57681

PLATE

wear, outer

1шт.

23

R54725

SPACER

BLOCK

2шт.

24

R54722

RETAINER

PLATE, upper pin

1шт.

The weldment on the back of blade that this plate mounts to is R54665.

1шт.

25

326-12112

BOLT,Hex, 3/4" - 10 x 7", Gr 8

Use with blue Loctite No. 242, shown below

2шт.

26

R54769

PIN,50.77mm OD x 284.8mm L

9-3/4 inch retaining length, upper pivot, C-frame and rod end of tilt cylinder

1шт.

27

103-16200

SNAP RING,#200, Ext

Upper pivot pin

4шт.

28

R57680

BLOCK

pivot pin retaining

1шт.

29

R53383

WASHER,52.32mm ID x 57.15mm OD x 17mm L

SPACER pin, tilt cylinder mounting

2шт.

30

495-81282

WASHER,2 1/16" x 3" x .109"

1шт.

31

G110694

CYLINDER ASSY.,Double Acting, 63.5mm Rod, 119.9mm Stroke

127 (5) ID x 120 mm (4-3/4 inch) stroke, tilt, see Figure 8-028

1шт.

31

87377322R

REMAN-HYD CYLINDER

1150G CASE CRAWLER TRACTOR, 127 (5) ID x 120 mm (4-3/4 inch) stroke, tilt (2/95-), Reman for New PN G110694

1шт.

31

87377322C

CORE-HYD CYLINDER

Return Number

1шт.

32

R54768

PIN,50.77mm OD x 195.8mm L

6-1/4 inch retaining length, closed end of tilt, Serial Range: cylinder-blade

1шт.

35

R53383

WASHER,52.32mm ID x 57.15mm OD x 17mm L

SPACER pin, tilt cylinder mounting

2шт.

41

R57679

WEAR PLATE

wear, 10 mm thick, inner

1шт.

42

184272A1

GUARD

hose

1шт.

43

231-1448

NUT,1/2"-13, GB

hex, self-locking, NC

4шт.

44

160-107

BOLT,Hex, 1/2" - 13 x 1 1/4", Gr 8, Full Thd

4шт.

B17577

LOCTITE

No. 242, blue, 6 ml tube

1шт.

Выбрано товаров: 42