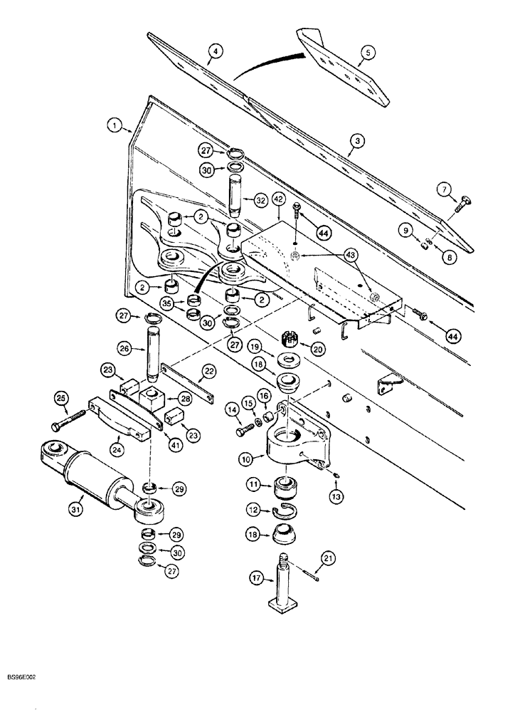
Запчасти Case 1150G (9-006) - 62 INCH GAUGE TRACK, BLADE AND TILT CYLINDER MOUNTING (05) - UPPERSTRUCTURE CHASSIS

Схема запчастей Case 1150G - (9-006) - 62 INCH GAUGE TRACK, BLADE AND TILT CYLINDER MOUNTING (05) - UPPERSTRUCTURE CHASSIS
22
29
2
8
35
26
31
30
20
18
25
28
2
42
9
17
13
32
2
1
11
44
30
16
27
12
15
23
44
27
10
23
29
30
43
14
7
21
27
27
41
4
24
5
18
19
3
FIT
1:1
100%

Артикул

Название

Примечание

Количество

1

179433A2

BLADE

2794 mm (110 inch) long, Includes: Ref. 2

1шт.

2

D30756

BUSHING,51.02mm ID x 63.5mm OD x 31.8mm L

2 x 2-1/2 x 1-1/4 inch, cylinder mounting

6шт.

3

179402A1

EDGE

cutting, center

1шт.

4

R42490

END

EDGE cutting, standard, if used

2шт.

5

R41910

EDGE, CUTTING

heavy duty, left-hand, if used

1шт.

6

R41911

EDGE, CUTTING

heavy duty, right-hand, if used, not shown

1шт.

7

R56474

PLOW BOLT

plow, 3/4 NC x 2-1/2 inch, grade 8

23шт.

8

92-11075

LOCK WASHER,3/4"

23шт.

9

29-1012

NUT,3/4"-10, G8

23шт.

R58345

PIVOT

BRACKET, Includes: Ref. 10 - 13

1шт.

10

NSS

NOT SOLD SEPARAT

BRACKET, pivot

1шт.

11

R55698

SPHERICAL BEARING,69.85mm ID x 120.65mm OD x 70.87mm W

self-aligning, 121 mm (4-3/4 inch) O.D., sealed

1шт.

12

39325

SNAP RING,4.75", Int, #475

bushing 4.75", Int, #475

1шт.

13

219-1

LUBE NIPPLE,1/8" - 27 NPTF

1шт.

14

326-1256

BOLT,Hex, 3/4" - 10 x 3-1/2", Gr 8

Use with blue Loctite No. 242, shown below

4шт.

15

D34666

WASHER,33.34mm ID x 63.5mm OD x 2.38mm Thk

flat, special, 3/4 inch, hardened

4шт.

16

R30398

SPACER

SPACER, pivot bracket mounting

4шт.

17

R45099

PIN

pivot

1шт.

18

R55700

SPACER

pin mounting

2шт.

19

R26660

WASHER,40.39mm ID x 101.6mm OD x 12mm Thk

flat, special

1шт.

20

25-1224

SLOTTED NUT,1 1/2"-6, G5

hex, slotted, 1-1/2 inch NC

1шт.

21

432-1640

COTTER PIN,1/4" x 2 1/2"

1/4" x 2 1/2"

1шт.

22

R57681

PLATE

wear, outer

1шт.

23

R54725

SPACER

BLOCK

2шт.

24

R54722

RETAINER

PLATE, upper pin

1шт.

25

326-12112

BOLT,Hex, 3/4" - 10 x 7", Gr 8

Use with blue Loctite No. 242, shown below

2шт.

26

R54769

PIN,50.77mm OD x 284.8mm L

9-3/4 inch retaining length, upper pivot, C-frame and rod end of tilt cylinder

1шт.

27

103-16200

SNAP RING,#200, Ext

Upper pivot pin

4шт.

28

R57680

BLOCK

pivot pin retaining

1шт.

29

R53383

WASHER,52.32mm ID x 57.15mm OD x 17mm L

SPACER pin, tilt cylinder mounting

2шт.

30

495-81282

WASHER,2 1/16" x 3" x .109"

1шт.

31

G110694

CYLINDER ASSY.,Double Acting, 63.5mm Rod, 119.9mm Stroke

127 (5) ID x 120 mm (4-3/4 inch) stroke, tilt, see Figure 8-028

1шт.

31

87377322R

REMAN-HYD CYLINDER

1150G CASE CRAWLER TRACTOR, 127 (5) ID x 120 mm (4-3/4 inch) stroke, tilt (2/95-), Reman for New PN G110694

1шт.

31

87377322C

CORE-HYD CYLINDER

Return Number

1шт.

32

R54768

PIN,50.77mm OD x 195.8mm L

6-1/4 inch retaining length, closed end of tilt, Serial Range: cylinder,-blade

1шт.

35

R53383

WASHER,52.32mm ID x 57.15mm OD x 17mm L

SPACER pin, tilt cylinder mounting

2шт.

41

R57679

WEAR PLATE

wear, 10 mm thick, inner

1шт.

42

184272A1

GUARD

hose

1шт.

43

231-1448

NUT,1/2"-13, GB

hex, self-locking, NC

4шт.

44

160-107

BOLT,Hex, 1/2" - 13 x 1 1/4", Gr 8, Full Thd

4шт.

B17577

LOCTITE

No. 242, blue, 6 ml tube

1шт.

Выбрано товаров: 41