Запчасти Case 1150G (9-024) - CLOSURE PANELS AND FLOOR PLATES (05) - UPPERSTRUCTURE CHASSIS

Схема запчастей Case 1150G - (9-024) - CLOSURE PANELS AND FLOOR PLATES (05) - UPPERSTRUCTURE CHASSIS
8
8
18
13
17
7
14
9
20
11
12
15
20
4
6
20
14
8
5
19
8
20
1
3
2
8
16
10
FIT
1:1
100%

Артикул

Название

Примечание

Количество

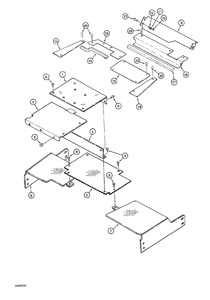
1

R58423

SUPPORT

seat mounting plate, includes battery decal

1шт.

2

141129A1

COVER

battery

1шт.

3

F22426

STOP

BUMPER rubber

3шт.

4

R57970

PLATE

heel

1шт.

5

142635A1

LARGE PLATE

PLATE, LARGE floor brake

1шт.

6

142661A1

PLATE

step, left-hand

1шт.

7

142682A1

PLATE

step, right-hand

1шт.

8

160-107

BOLT,Hex, 1/2" - 13 x 1 1/4", Gr 8, Full Thd

10шт.

9

182644A1

LARGE PLATE

PLATE, LARGE footrest

1шт.

10

425-106

NUT,3/8"-16, Cl 5

3шт.

11

492-11038

LOCK WASHER,3/8"

3шт.

12

495-11041

WASHER,0.406" ID x 0.812" OD x 0.065" W

Flat, (13/32 x 13/16 x 1/16")

3шт.

12

495-11041

WASHER,0.406" ID x 0.812" OD x 0.065" W

Flat, (13/32 x 13/16 x 1/16")

3шт.

13

411-616

CARRIAGE BOLT,Sq Nk, 3/8" - 16 x 1", Gr 2

BOLT carriage, 3/8 NC x 1 inch, grade 2

3шт.

14

178792A1

PLATE

filler, step, used on cab models only

2шт.

15

178790A1

LARGE PLATE

PLATE, LARGE floor, cover, used on cab models only

1шт.

16

178794A1

SUPPORT

floor, used on cab models only

1шт.

17

178815A1

SEAL

adhesive backed, 713 mm (28 inch) long, used on cab models only

1шт.

191785A1

PLATE ASSY.

seal, fuel tank, Includes: Ref. 18, 19, used on cab models only

1шт.

18

NSS

NOT SOLD SEPARAT

PLATE sealing, used on cab models only

1шт.

19

1999824C1

SEAL

460 mm (18-1/8 inch) long, cut from 1999833C1 seal, see below, used on cab models only

1шт.

20

161-105

HEX SOC SCREW,Btn Hd, 5/16" - 18 x 3/4"

BOLT hex socket button head, 5/16 NC x 3/4 inch, used on cab models only

12шт.

1999833C1

SEAL

740 mm (29-1/8 inch) long, used on cab models only

1шт.

Выбрано товаров: 23