Запчасти Case 1150G (4-010) - INSTRUMENT PANEL WIRING (06) - ELECTRICAL SYSTEMS

Схема запчастей Case 1150G - (4-010) - INSTRUMENT PANEL WIRING (06) - ELECTRICAL SYSTEMS
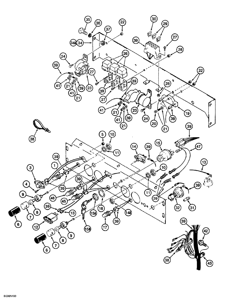
39
39
41
21
23
9
22
15b
14
16
39
39
34a
1
29
14a
21
26
5
11
47
3
39
39
41
39
39
7
34
38
37
27
32
41
12
39
27
38
10
39
6
24
39
7
6
42
39
10
39
36
27
11
30
21
31
13
15a
21
13
46
23
39
39
20
43
24
39
39
19
15
22
28
41
17
4
45
21
8
9
35
28
8
FIT
1:1
100%

Артикул

Название

Примечание

Количество

1

A187881

LAMP

amber lens, No. 1820, alternator indicator, Includes: Ref. 2

1шт.

2

T39215

BULB

No. 1820, indicator lamp, not shown

1шт.

3

D67872

SWITCH

push-button, cold start

1шт.

4

140-105

SCREW,Cross Pan Hd, #10 - 24 x 1/2"

2шт.

5

86625057

NUT,#10-24, GB

2шт.

185383A1

ASSEMBLY

KIT, instrument panel lamp, includes instructions, Replaces: D35815, Includes: Ref. 6 - 10A

2шт.

6

D37918

COVER

lamp

1шт.

7

D37919

LENS

lamp

1шт.

8

71421

BULB,R5W, 12V, 5W

lamp, No. 67, replaces No. 623 bulb which is not used

1шт.

9

NSS

NOT SOLD SEPARAT

BODY includes wire

1шт.

10

D39095

NUT

special

1шт.

20

413-420

BOLT,Hex, 1/4" - 20 x 1-1/4", Gr 5

1шт.

10a

377630C1

CONNECTOR, ELEC

CONNECTOR lamp assembly, not shown

1шт.

11

493-21065

LOCK WASHER,Int Tooth, 5/8"

internal tooth lock, 5/8 inch

2шт.

12

L107631

METER

HOUR engine

1шт.

13

R27252

HARNESS

WIRE hourmeter to pressure switch

1шт.

14

R50405

SWITCH

toggle, fuel shutoff, Includes: Ref. 14A

1шт.

14a

N13588

SPECIAL NUT

special

1шт.

D134737

IGNITION SWITCH

SWITCH ASSY., ignition, includes keys, Includes: Ref. 15 - 15B

1шт.

15

NSS

NOT SOLD SEPARAT

SWITCH ignition

1шт.

15a

A77314

NUT

hex, special

1шт.

15b

A77313

SET OF 2 KEYS

Metal Without Padding

1шт.

16

493-21104

LOCK WASHER,Int Tooth, 1"

1шт.

17

A187881

LAMP

amber lens, No. 1820, transmission filter indicator, Includes: Ref. 18

1шт.

18

T39215

BULB

No. 1820, indicator lamp, not shown

1шт.

19

F22316

RESISTOR,75 Ohms 0.2 Amps DC

75 ohm

1шт.

21

495-11028

WASHER,1/4", SAE

(flat, 9/32 x 5/8 x 1/16")

3-5шт.

22

231-1444

NUT,1/4"-20, GB

3-5шт.

23

120398A1

RELAY

24 volt, one used prior to JJG0218023 and JJG0218024 - JJG0218474; two used on JJG0218023 and JJG0218475 and after

1-2шт.

24

413-412

BOLT,Hex, 1/4" - 20 x 3/4", Gr 5

2-4шт.

26

S243589

RELAY

24 volt, starter neutral start, 2-speed, and brake

3шт.

27

140-107

SCREW,Pan HD, #10 - 24 x 3/4"

4шт.

28

86625057

NUT,#10-24, GB

4шт.

29

A149800

FUSE,10 Amp

red, 10 ampere

2шт.

30

A149802

FUSE

yellow, 20 ampere

1шт.

31

223-74

SPADE TERMINAL

straight spade, SAE No. H203, No. 8, instrument panel lamps to flood lamp switch, used on models with ROPS canopy

1шт.

32

R54064

IGNITION SWITCH

flood lamps

1шт.

34

140809A1

PANEL

instrument mounting, prior to JJG0218023 and JJG0218024 - JJG0218474

1шт.

34a

251139A1

PANEL

instrument mounting, JJG0218023 and JJG0218475 and after, used on models with two Ref. 23 relays

1шт.

35

411-616

CARRIAGE BOLT,Sq Nk, 3/8" - 16 x 1", Gr 2

BOLT carriage, 3/8 NC x 1 inch, grade 2

4шт.

36

492-11038

LOCK WASHER,3/8"

4шт.

37

425-106

NUT,3/8"-16, Cl 5

4шт.

38

L18337

CABLE TIE,9.95"-12.1" lg

CABLE STRAP tie, 15 inch

1шт.

39

143216A1

HARNESS

front wiring, see Figures 4-014, 4-034 and 4-036 for continuation of front harness, prior to JJG0218023 and JJG0218024 - JJG0218474

1шт.

39a

244721A2

HARNESS

front wiring, see Figures 4-014, 4-034 and 4-036 for continuation of front harness, not shown, JJG0218023 and JJG0218475 and after, Replaces: 244721A1

1шт.

41

829-1406

NUT,Hex, M6 x 1, Cl 10.9

2-4шт.

42

160-106

BOLT,Hex, 1/2" - 13 x 1", Gr 8, Full Thd

1шт.

43

D34033

CLAMP

P-type, 1-3/16 inch ID

1шт.

45

A187667

LAMP

ASSY., indicator, transmission high range

1шт.

T39215

BULB

No. 1820, high range indicator lamp

1шт.

46

198346A1

LIGHT ASSY.

LAMP indicator, coolant level

1шт.

S119827

BULB

No. 313, coolant level lamp

1шт.

47

192385A1

HARNESS

WIRE diode, transmission filter and coolant level indicator lamps to ignition switch

1шт.

Выбрано товаров: 0