Запчасти Case 1150G (4-028) - REAR WINDSHIELD WIPER (06) - ELECTRICAL SYSTEMS

Схема запчастей Case 1150G - (4-028) - REAR WINDSHIELD WIPER (06) - ELECTRICAL SYSTEMS
1
5
3
2
4
8
FIT
1:1
100%

Артикул

Название

Примечание

Количество

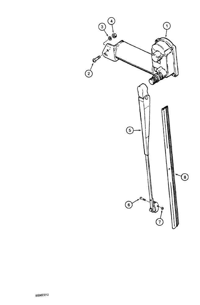
1

N8711

WIPER MOTOR

MOTOR, WIPER rear windshield

1шт.

2

140-105

SCREW,Cross Pan Hd, #10 - 24 x 1/2"

1шт.

3

492-11010

LOCK WASHER,#10

1шт.

4

225-14110

NUT,#10-24

1шт.

5

F42213

ARM

wiper, rear, 406 mm (16 inch) long, Includes: Ref. 6, 7

1шт.

6

170-105

SCREW,Sl Pan Hd, #5 - 40 x 1/2"

machine, pan head slotted, No. 5 NC x 1/2 inch

1шт.

7

225-14105

NUT,#5-40

Blade attaching

1шт.

8

A42580

WIPER BLADE,203.2mm L

BLADE, WIPER arm, rear, 406 mm (16 inch) long

1шт.

Выбрано товаров: 8