Запчасти Case 1150G (8-066) - TILT AND ANGLE SECTION, JJG0218023 AND JJG0218479 AND AFTER (07) - HYDRAULIC SYSTEM

Схема запчастей Case 1150G - (8-066) - TILT AND ANGLE SECTION, JJG0218023 AND JJG0218479 AND AFTER (07) - HYDRAULIC SYSTEM
18
10
22
19
5
7
3
19
6
21
2
25
23
1
20
17
20
23
24
21
3
25
9
4
8
22
18
24
17
6
FIT
1:1
100%

Артикул

Название

Примечание

Количество

234152A2

VALVE

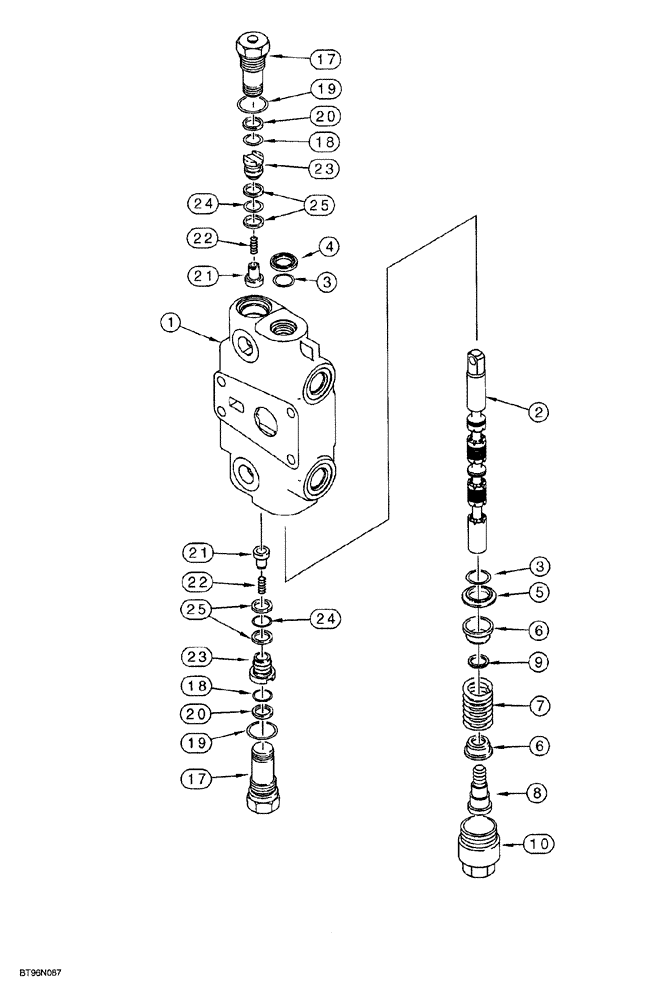
SECTION ASSY., tilt and angle, Replaces: 234152A1, Includes: Ref. 1 - 25

2шт.

1

NSS

NOT SOLD SEPARAT

HOUSING section

1шт.

2

NSS

NOT SOLD SEPARAT

SPOOL section

1шт.

3

1994608C1

O-RING,0.737" ID x 0.943" OD x 0.103"

spool

2шт.

Part of seal kit 1346105C2

1шт.

4

65457C1

SEAL,19.04mm ID x 25.5mm OD x 3.17mm Thk

oil, spool

1шт.

Part of seal kit 1346105C2

1шт.

5

G102711

RETAINER COLLAR,19.3 mm ID x 32.97 mm OD

O-ring

1шт.

6

G33075

RETAINER,12.2mm ID, 27.9mm OD

SEAT centering spring

2шт.

7

1994596C1

SPRING

centering, purple, 2-15/16 inch free length

1шт.

8

G106409

SEAT

SCREW spool end

1шт.

9

G106410

SPACER

screw

1шт.

10

P0033080G

SCREW

centering spring, spool end, lower

1шт.

G33122

PLUG,ORB

ASSY., relief port, Includes: Ref. 17 - 20

2шт.

17

NSS

NOT SOLD SEPARAT

PLUG load check valve

1шт.

18

238-6018

O-RING,0.07" Thk x 0.739" ID, -18, Cl 6, 90 Duro

1шт.

Part of seal kit 1346105C2

1шт.

19

237-6012

O-RING,0.116" Thk x 0.924" ID, -912, Cl 6, 90 Duro

1шт.

Part of seal kit 1346105C2

1шт.

20

G35540

BACK-UP RING,19.43mm ID x 22.23mm OD x 1.32mm Thk

backup, small O-ring

1шт.

Part of seal kit 1346105C2

1шт.

1346219C2

PACKAGE

VALVE ASSY., load check, hollow poppet pin, Includes: Ref. 21 - 25

2шт.

21

1343777C1

VALVE POPPET,6.9mm ID x 17.5mm OD x 18.8mm L

hollow poppet pin with orifice, load check

1шт.

22

1346175C1

SPRING,Compression, 6.6mm OD x 21.93mm L

load check

1шт.

23

1343708C1

PLUG

load check

1шт.

24

238-6016

O-RING,0.07" Thk x 0.614" ID, -16, Cl 6, 90 Duro

Plug

1шт.

Part of seal kit 1346105C2

1шт.

25

G103862

BACK-UP RING,15.77mm ID x 18.67mm OD x 1.32mm Thk

backup, plug O-ring

2шт.

Part of seal kit 1346105C2

1шт.

1346105C2

SEAL KIT

Includes: Ref. 3, 4, 18 - 20, 24, 25, plus additional O-rings not required for this application

1шт.

Выбрано товаров: 30