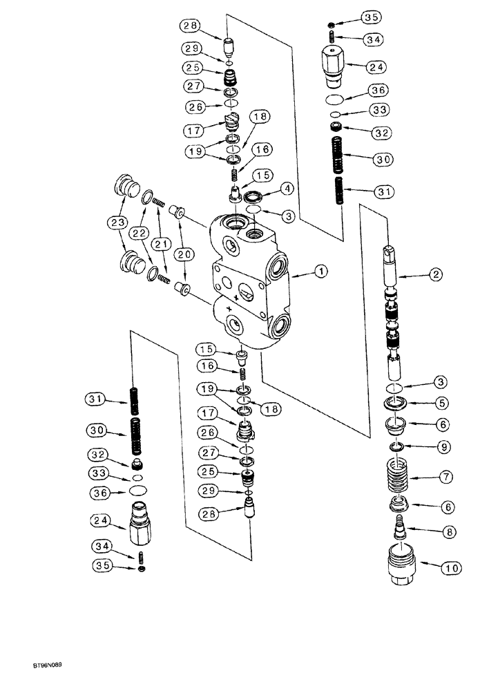
Запчасти Case 1150G (8-070) - RIPPER SECTION, JJG0218023 AND JJG0218479 AND AFTER (07) - HYDRAULIC SYSTEM

Схема запчастей Case 1150G - (8-070) - RIPPER SECTION, JJG0218023 AND JJG0218479 AND AFTER (07) - HYDRAULIC SYSTEM
24
30
17
34
15
25
8
36
10
19
1
24
2
28
18
27
26
20
15
6
5
18
33
6
7
32
22
4
25
16
35
32
31
29
30
23
21
17
36
3
33
19
28
3
26
27
35
31
9
34
29
16
FIT
1:1
100%

Артикул

Название

Примечание

Количество

234150A1

HYD VALVE SECTION

SECTION ASSY., ripper, Includes: Ref. 1 - 36

1шт.

1

NSS

NOT SOLD SEPARAT

HOUSING section

1шт.

2

NSS

NOT SOLD SEPARAT

SPOOL section

1шт.

3

1994608C1

O-RING,0.737" ID x 0.943" OD x 0.103"

spool

2шт.

Part of seal kit 1346105C2

1шт.

4

65457C1

SEAL,19.04mm ID x 25.5mm OD x 3.17mm Thk

oil, spool

1шт.

Part of seal kit 1346105C2

1шт.

5

G102711

RETAINER COLLAR,19.3 mm ID x 32.97 mm OD

O-ring

1шт.

6

G33075

RETAINER,12.2mm ID, 27.9mm OD

SEAT centering spring

2шт.

7

1994596C1

SPRING

centering, purple, 2-15/16 inch free length, spool

1шт.

8

G106409

SEAT

SCREW spool end

1шт.

9

G106410

SPACER

screw

1шт.

10

G33080

CAP

centering spring, spool end, lower

1шт.

1346219C2

PACKAGE

VALVE ASSY., load check, hollow poppet pin, Includes: Ref. 15 - 19

2шт.

15

1343777C1

VALVE POPPET,6.9mm ID x 17.5mm OD x 18.8mm L

hollow poppet pin with orifice, load check

1шт.

16

1346175C1

SPRING,Compression, 6.6mm OD x 21.93mm L

load check

1шт.

17

1343708C1

PLUG

load check

1шт.

18

238-6016

O-RING,0.07" Thk x 0.614" ID, -16, Cl 6, 90 Duro

Plug

1шт.

Part of seal kit 1346105C2

1шт.

19

G103862

BACK-UP RING,15.77mm ID x 18.67mm OD x 1.32mm Thk

backup, plug O-ring

2шт.

Part of seal kit 1346105C2

1шт.

129735A1

VALVE

ASSY., anticavitation, Includes: Ref. 20 - 23

2шт.

20

129698A1

VALVE POPPET

anticavitation

1шт.

21

G34458

SPRING,Compression, 5.08mm OD x 27.56mm L

anticavitation

1шт.

22

237-6010

O-RING,0.097" Thk x 0.755" ID, -910, Cl 6, 90 Duro

1шт.

23

129699A1

PLUG

anticavitation

1шт.

129861A1

VALVE

ASSY., circuit relief, used in production, Includes: Ref. 24 - 36, order G110077 for service

2шт.

24

NSS

NOT SOLD SEPARAT

HOUSING circuit relief valve

1шт.

25

NSS

NOT SOLD SEPARAT

SEAT circuit relief valve

1шт.

26

238-6018

O-RING,0.07" Thk x 0.739" ID, -18, Cl 6, 90 Duro

Circuit relief valve seat

1шт.

Part of seal kit 1346105C2

1шт.

27

G35540

BACK-UP RING,19.43mm ID x 22.23mm OD x 1.32mm Thk

backup, seat O-ring

1шт.

Part of seal kit 1346105C2

1шт.

28

NSS

NOT SOLD SEPARAT

POPPET circuit relief valve

1шт.

29

NSS

NOT SOLD SEPARAT

O-RING poppet

1шт.

30

NSS

NOT SOLD SEPARAT

SPRING relief, outer

1шт.

31

NSS

NOT SOLD SEPARAT

SPRING relief, inner

1шт.

32

NSS

NOT SOLD SEPARAT

PISTON circuit relief valve

1шт.

33

NSS

NOT SOLD SEPARAT

O-RING piston

1шт.

34

484-43120

SET SCREW,Hex Soc, 5/16"-24 x 1 1/4"

set, hex socket headless, 5/16 NF x 1-1/4 inch, oval point, Replaces: 484-43116

1шт.

35

425-155

JAM NUT,Jam, 5/16"-24, G5

Hex

1шт.

36

237-6012

O-RING,0.116" Thk x 0.924" ID, -912, Cl 6, 90 Duro

Housing

1шт.

Part of seal kit 1346105C2

1шт.

1346105C2

SEAL KIT

Includes: Ref. 3, 4, 18, 19, 26, 27, 36, plus additional O-rings not required in this application

1шт.

G110077

KIT

service, for 129861A1 circuit relief valve, kit includes an instruction sheet and G110078 circuit relief valve, Ref. 24 - 36, which is the same as 129861A1 except with a different pressure setting

1шт.

Выбрано товаров: 45