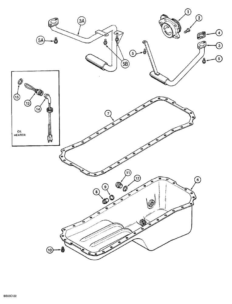
Запчасти Case 1150G (2-031A) - OIL PUMP AND OIL PAN, 6T-590 EMISSIONS CERTIFIED ENGINE, JJG0218023 AND JJG0218479 AND AFTER (01) - ENGINE

Схема запчастей Case 1150G - (2-031A) - OIL PUMP AND OIL PAN, 6T-590 EMISSIONS CERTIFIED ENGINE, JJG0218023 AND JJG0218479 AND AFTER (01) - ENGINE
4
12
3a
3
1
11
14
7
2
5a
6
10
15
13
8
5
5
9
5b
FIT
1:1
100%

Артикул

Название

Примечание

Количество

1

J941742

PUMP, ENGINE OIL

ASSY., engine, new, Replaces: J930337

1шт.

JR941742

REMAN-ENG OIL PUMP

REMAN-ENGINE OIL PUMP Remanufactured Oil Pump; For N.A. only; Replaces: JR930337

1шт.

JC926203

CORE-ENGINE OIL PUMP

CORE-ENGINE OIL PUMP RETURN NUMBER - For N.A. only; Replaces: JC930337

1шт.

2

J900677

BOLT,Hex

hex, full threads, 8 - 1.25 x 30 mm, Replaces: 613-8030

4шт.

3

J909373

TUBE

with screen, oil suction, no longer available, order J934942

1шт.

3a

J934942

TUBE,1" OD

lube oil suction, Replaces: J909373

1шт.

4

J931349

GASKET

mounting, oil suction tube

1шт.

Part of gasket kit A77676

1шт.

5

J907860

FLANGE BOLT,Hex, M8 x 25mm, Spcl

Used with J909373

3шт.

5a

845-8020

BOLT,Hvy Hex, M8 x 20mm, Cl 8.8

Used with J934942

2шт.

5b

844-12025

BOLT,Hvy Hex, M12 x 25mm, Cl 8.8

Used with J934942

2шт.

6

J915703

PAN, ENGINE OIL

PAN, OIL engine

1шт.

7

NSS

NOT SOLD SEPARAT

GASKET oil pan, order A77676 kit shown below

1шт.

Part of gasket kit A77676

1шт.

8

J924147

PLUG,M18 x 1.5

hex magnetic, special, 18 mm - 1.5

1шт.

9

J920773

SEALING WASHER

WASHER sealing

1шт.

Part of gasket kit A77676

1шт.

10

J920400

FLANGE BOLT,Hex, M8 x 1.25 x 21mm, Gr 8.8

36шт.

11

J924148

PLUG,M22 x 1.5

hex magnetic, special, 22 mm - 1.5

1шт.

12

J902425

SEALING WASHER,22.2mm ID x 26.9mm OD x 1.75mm Thk

sealing, plug

1шт.

A77676

GASKET KIT

oil pan, Includes: Ref. 4, 7, 9

1шт.

A77490

KIT

heater, engine oil, Includes: Ref. 13, 14

1шт.

When A77490 kit is ordered, Ref. 15, J902425 washer must also be ordered.

1шт.

13

NSS

NOT SOLD SEPARAT

ELEMENT heater, 120 volt

1шт.

14

196466A1

ELECTRIC CABLE

engine block heater

1шт.

15

J902425

SEALING WASHER,22.2mm ID x 26.9mm OD x 1.75mm Thk

sealing, plug, engine oil heater

1шт.

When A77490 kit is ordered, Ref. 15, J902425 washer must also be ordered.

1шт.

Выбрано товаров: 27