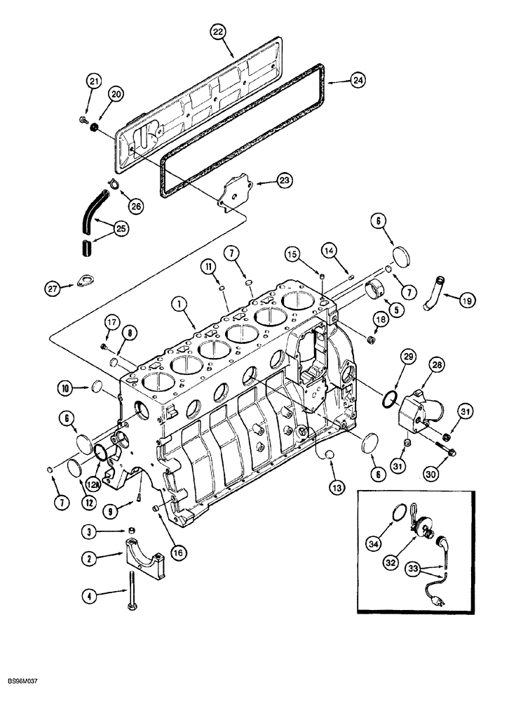
Запчасти Case 1150G (2-038) - CYLINDER BLOCK, 6T-590 ENGINE, PRIOR TO JJG0218023 AND JJG0218024 - JJG0218478 (01) - ENGINE

Схема запчастей Case 1150G - (2-038) - CYLINDER BLOCK, 6T-590 ENGINE, PRIOR TO JJG0218023 AND JJG0218024 - JJG0218478 (01) - ENGINE
3
17
12a
4
6
7
12
30
28
19
26
21
7
13
33
15
20
16
6
9
5
1
11
31
22
31
24
8
7
14
34
10
23
25
32
29
6
2
18
27
FIT
1:1
100%

Артикул

Название

Примечание

Количество

1989051C2

ENGINE ASSEMBLY

ENGINE ASSY complete, 6T-590, includes all parts except starter, alternator, fan, fan belt, fan belt pulley, air cleaner, muffler and exhaust pipe, for service order basic engine below or complete remanufactured engine below

1шт.

1989051C2R

REMAN-REPLACEMENT EN

ASSY., complete, remanufactured, North America only, component parts shown on this figure do not apply to the remanufactured assembly

1шт.

1989051C2C

CORE-REPLACEMENT ENG

Return Number

1шт.

1989096C2

BASIC ENGINE

ASSY., includes all parts except starter, alternator, fan, fan belt, air cleaner, muffler, exhaust manifold, flywheel and housing, oil fill and dipstick, fuel injection pump, injectors and lines, fronk crank pulley, turbocharger and belt tensioner

1шт.

47465952R

REMAN-BASIC ENGINE

With Three hole Injection Pump Mounting. Assembly includes short block assembly, cylinder head, valve cover, front cover, oil pan, water pump, thermostat and gasket kit to transfer trim parts

1шт.

47465952C

CORE-BASIC ENGINE

Return Number

1шт.

246148A2R

REMAN-BASIC ENGINE

With Four hole Injection Pump Mounting. Assembly includes short block assembly, cylinder head, valve cover, front cover, oil pan, water pump, thermostat and gasket kit to transfer trim parts

1шт.

246148A2C

CORE-BASIC ENGINE

Return Number

1шт.

J933183

SKELETON ENGINE

Engine Short Block - Tier 0

1шт.

JR933183

REMAN-SHORT ENGINE

Engine Short Block - Tier 0

1шт.

JC933183

CORE-SHORT ENGINE

Return Number

1шт.

JR920392

SKELETON ENGINE

BLOCK ASSY., short, remanufactured, For North America only, component parts shown on this figure do not apply to the remanufactured assembly

1шт.

J920392

SKELETON ENGINE

BLOCK ASSY., short, new, includes stripped block, pistons, connecting rods and bearings, crankshaft and bearings

1шт.

Order J802641 hardware kit when ordering J920392 block assembly.

1шт.

1

J916255

CYLINDER BLOCK

ASSY., stripped, engine, Includes: Ref. 2 - 8, no longer available, order J920392 short block assembly or 1989096C2 basic engine

1шт.

Order J802641 hardware kit when ordering J920392 block assembly.

1шт.

2

J900967

BEARING CAP

CAP main bearing

7шт.

3

J900068

BEARING WASHER

RING dowel, 18 mm O.D.

14шт.

4

J904217

BOLT,Hex, M14 x 2 x 119mm, Cl 12.9

main bearing cap, special

14шт.

5

REF

INSTRUCTION

BUSHING camshaft, front, see Figure 2-036, Ref. 2

1шт.

6

A77782

PLUG

expansion, 58 mm O.D.

6шт.

7

J900956

PLUG

expansion, 18 mm O.D.

3шт.

8

41-1616

PLUG,Cup, 1", Stainless

4шт.

J802641

PACKAGE, REPAIR

KIT, block hardware, Replaces: J920399, Includes: Ref. 9 - 18

1шт.

9

J930139

NOZZLE CAP

piston cooling, Replaces: J919002

6шт.

10

J900958

PLUG

expansion, 32 mm O.D.

1шт.

11

J900955

PLUG

expansion, 10 mm O.D.

2шт.

12

172599

PLUG,Exp, 2 3/8"

expansion, Welch, 60 mm O.D.

1шт.

12a

J926047

O-RING,0.07" Thk x 2.239" ID

O-RING sealing, 57 mm ID

1шт.

13

J920706

PLUG

expansion, 22 mm O.D., not used in this application

1шт.

14

J900257

PIN,10.01mm OD x 16mm L

dowel, 16 mm long, locating

2шт.

15

J902343

DOWEL

RING, 16 mm O.D.

2шт.

16

J900068

BEARING WASHER

RING dowel, 18 mm O.D.

2шт.

17

J906619

PLUG,1/8" - 27

hex, 1/8 inch PT

2шт.

18

A77429

PLUG

hex socket, 1/2 inch PT

2шт.

19

J903744

PIPE FITTING,22.42 mm ID x 28 mm OD x 90.2, 64 mm L

TUBE turbocharger oil drain

1шт.

20

J900267

SEAL

cover bolt

6шт.

21

845-8020

BOLT,Hvy Hex, M8 x 20mm, Cl 8.8

6шт.

22

J927913

COVER

tappet, Replaces: J911822

1шт.

23

J907586

BAFFLE

tappet cover, use with J823494 sealant, see below

1шт.

24

J928832

GASKET

tappet cover, Replaces: J907617

1шт.

25

J918612

TUBE,360.00 mm

1шт.

26

J904230

CLAMP,25.4mm

spring, hose

1шт.

27

J909670

CLIP

retaining

1шт.

28

J934877

HYD CONNECTOR

water inlet, Replaces: J903102

1шт.

29

J906697

SEAL,Square, 5.16mm Thk x 50.17mm ID

O-RING, 50 mm ID

1шт.

30

854-10075

BOLT,Hvy Hex, M10 x 75mm, Cl 10.9

Heavy

3шт.

31

A77429

PLUG

hex socket, 1/2 inch PT

1шт.

196803A1

KIT

engine block heater, Replaces: A77634, Includes: Ref. 32 - 34

1шт.

32

NSS

NOT SOLD SEPARAT

ELEMENT engine block heater

1шт.

33

196466A1

ELECTRIC CABLE

engine block heater, Replaces: J905113

1шт.

34

J910517

O-RING

heater sealing

1шт.

J823494

SEALANT

Three Bond Silver RTV Adhesive/Sealer, 3 ounce tube

1шт.

Выбрано товаров: 53