Качественные детали и логистика
Оригинальные и аналоговые запчасти с доставкой по России, Казахстану и Беларуси
©2022 PartSell ООО "Система" ИНН 2463123282 ОГРН 1212400004838
Центральный офис: г. Красноярск, Академика Киренского, д.87, пом.4
Телефон: 8 (800) 777-65-74 Email: zakaz@partsell.ru
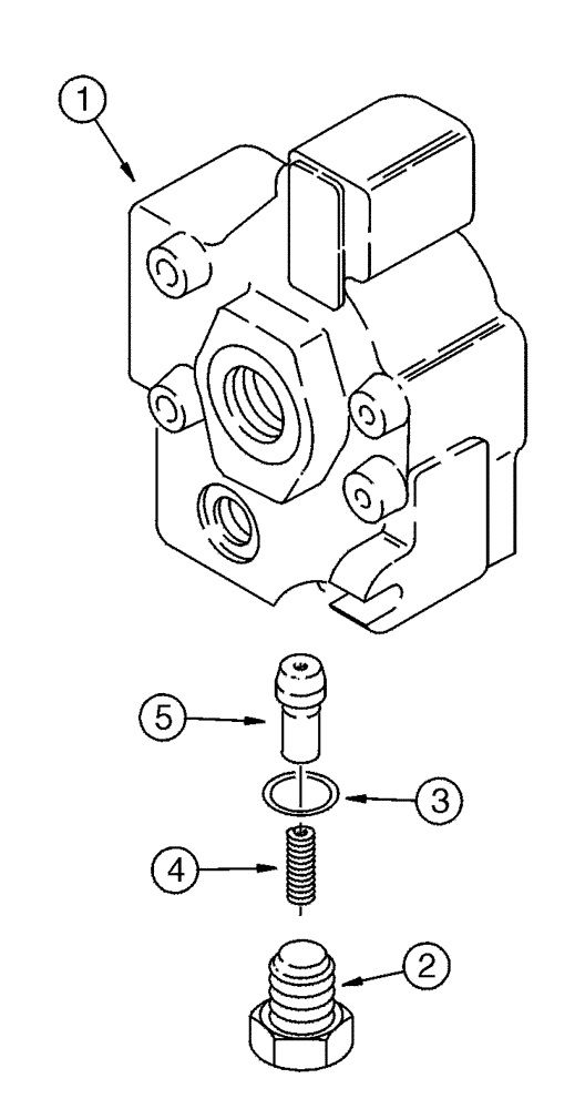
(08-26) - SECTION ASSEMBLY - OUTLET
№
Артикул
Название
Примечание
Количество
132004A2
HYD VALVE SECTION
Outlet, Incl. 1 - 5
1шт.
1
NSS
NOT SOLD SEPARAT
Housing
293787A1
PLUG,ORB
Load Check, Incl. 2, 3
2
G109644
PLUG,Hex, 3/4" - 16
3
237-6008
O-RING,0.087" Thk x 0.644" ID, -908, Cl 6, 90 Duro
4
G109646
SPRING,Compression, 6.35mm OD x 38.35mm L
5
283417A1
VALVE POPPET,7.14mm ID x 11.68mm OD x 25.4mm L
Выбрано товаров: 0