Запчасти Case 1150H (03-05) - FUEL TANK (03) - FUEL SYSTEM

Схема запчастей Case 1150H - (03-05) - FUEL TANK (03) - FUEL SYSTEM
6
3
4
27
14
15
12
18
5
25
9
13
28
26
10
16
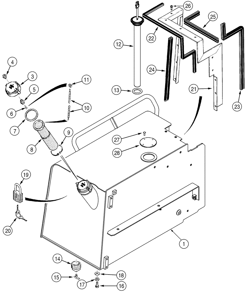
1
24
11
21
17
8
20
19
23
7
22
FIT
1:1
100%

Артикул

Название

Примечание

Количество

1

366136A2

TANK

With Grab Handle, Incl. 3, Models Without Cab

1шт.

2

366137A2

TANK

Without Grab Handle, Incl. 3, Models With Cab, Not Illustrated

1шт.

3

R57981

FILLER CAP

Fuel, Incl. 4 - 6

1шт.

4

A50096

VALVE

Use Loctite No. 592

1шт.

B17425

LOCTITE

Loctite, No. 592, 50 ml

1шт.

5

R57888

FILTER

Use Loctite No. 592

1шт.

B17425

LOCTITE

Loctite, No. 592, 50 ml

1шт.

6

301-14712

SCREW,Drive, #12 x 3/4"

Use Loctite No. 242

1шт.

B17577

LOCTITE

Loctite, No. 242, 6 ml

1шт.

7

R49868

GASKET,72mm ID x 90mm OD x 3mm Thk

1шт.

8

R51771

STRAINER ASSY.

1шт.

9

103-21300

SNAP RING,3.00", Int, #300

1шт.

10

R47786

CHAIN (CE)

241 mm (9-1/2 in)

1шт.

11

R48634

FASTENER

1шт.

12

326277A1

SENSOR

Fuel Level

1шт.

13

255095A1

GROMMET

1шт.

14

R27578

PLUG

Use Loctite No. 592

1шт.

B17425

LOCTITE

Loctite, No. 592, 50 ml

1шт.

15

217-81

VALVE

1/8 PT, Use Loctite No. 271

1шт.

B17500

LOCTITE

Loctite, No. 271, 6 ml

1шт.

16

413-1020

BOLT,Hex, 5/8" - 11 x 1-1/4", Gr 5

4шт.

17

496-21066

WASHER,16.6mm ID x 33.5mm OD x 3.8mm Thk

4шт.

18

D44330

SHIM,.031" Thk

4шт.

19

D93753

PADLOCK

Incl.19

1шт.

20

R29555

KEY

For Master Padlock Only

2шт.

20

D93751

SET OF 2 KEYS

For Yale Padlock Only

2шт.

Models With Cab

1шт.

21

178813A1

FRAME

Seal

1шт.

22

178811A1

SEAL

957 mm (37-5/8 in), Upper, Cut From 235329A1

1шт.

23

178816A1

SEAL

757 mm (29-3/4 in), Front, Vertical, Cut From 235330A1

1шт.

24

178817A1

SEAL

540 mm (21-1/4 in), Rear, Vertical, Cut From 235330A1

1шт.

25

178818A1

SEAL

420 mm (16-1/2 in), Front, Horizontal, Cut From 235330A1

1шт.

26

161-105

HEX SOC SCREW,Btn Hd, 5/16" - 18 x 3/4"

5/16 x 3/4

16шт.

27

359740A1

COVER

Fuel Level Sender

1шт.

28

260-16512

SELF-TAP SCREW,Cross Pan Hd, #10 x 3/4"

4шт.

Выбрано товаров: 35