Запчасти Case 1150H_IND (08-19) - CONTROLS - LEVER, CONTROL (08) - HYDRAULICS

Схема запчастей Case 1150H_IND - (08-19) - CONTROLS - LEVER, CONTROL (08) - HYDRAULICS
17
13c
13
19
14
11
15
4
3
13b
10
6
18
13a1
11
2
5
20
9
7
11
12
12
22
9
8
16
13a
1
11
13
8
21
10
FIT
1:1
100%

Артикул

Название

Примечание

Количество

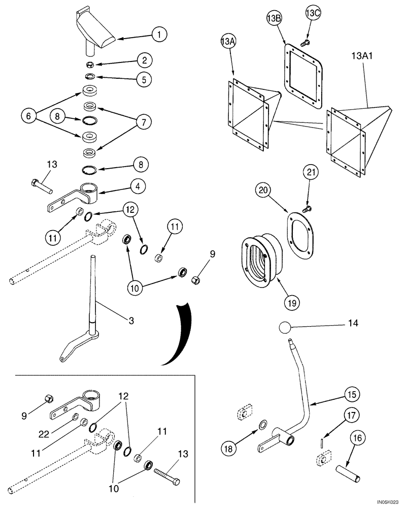
Lift, Tilt, and Angle Control Lever

1шт.

1

R58490

HANDLE

1шт.

2

425-158

JAM NUT,Jam, 1/2"-20, G5

1шт.

3

373116A2

HANDLED SHAFT

Blade Control, Replaces 373116A1

1шт.

4

370794A2

BEARING HOUSING,50.8 mm OD

Bearing, Ball, Replaces 370794A1

1шт.

5

103-1475

SNAP RING,#75, Ext

1шт.

6

L100321

BALL BEARING,19.04mm ID x 41.27mm OD x 11.11mm W

2шт.

7

374118A1

SPACER

2шт.

8

100-21162

SNAP RING,1.625", Int, #162

2шт.

9

231-1448

NUT,1/2"-13, GB

1шт.

10

R56407

BEARING, BALL,12.7 mm ID x 28.575 mm OD x 7.938 mm

2шт.

11

374318A2

SPACER

ID13 x OD22.2, Replaces 374318A2, ID13 x OD19

2шт.

12

100-21112

SNAP RING,1.125", Int, #112

2шт.

13

413-840

BOLT,Hex, 1/2" - 13 x 2-1/2", Gr 5

1/2 x 2-1/2

1шт.

13a

378528A1

BOOT

Models With Cab; No Longer Available, Order 378528A2 Boot, Ref 13A1

1шт.

13a1

378528A2

BOOT

Models With Cab

1шт.

13b

378529A1

PLATE

Models With Cab

1шт.

13c

260-16512

SELF-TAP SCREW,Cross Pan Hd, #10 x 3/4"

12шт.

Ripper Control Lever

1шт.

Models With Four Spool Control Valve

1шт.

14

70213

KNOB

1шт.

15

R52154

LEVER

Ripper

1шт.

16

377050A1

SHAFT

1шт.

17

38-1820

LOCK PIN,1/8" x 1 1/4", Slotted

Replaces 138-63 PIN

1шт.

18

D35268

SHIM,1/32" Thk

1шт.

19

R47897

BELLOWS

1шт.

20

R47894

ANCHOR

1шт.

21

294-1658

SELF-TAP SCREW,Cross Truss Hd, #10 x 1/2"

4шт.

22

496-21053

WASHER,17/32" x 1 1/16" x .134"

1шт.

Выбрано товаров: 29