Запчасти Case 1150H_IND (03-05) - FUEL TANK (03) - FUEL SYSTEM

Схема запчастей Case 1150H_IND - (03-05) - FUEL TANK (03) - FUEL SYSTEM
6
22
1
24
15
12
27
21
28
26
4
3
18
8
7
10
23
20
13
11
17
5
14
25
9
16
19
FIT
1:1
100%

Артикул

Название

Примечание

Количество

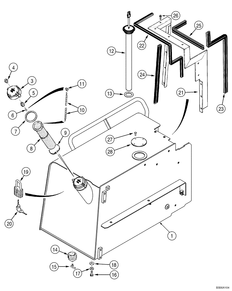
1

366136A2

TANK

With Grab Handle, Incl. 3, Models Without Cab

1шт.

2

366137A2

TANK

Without Grab Handle, Incl. 3, Models With Cab, Not Illustrated

1шт.

3

R57981

FILLER CAP

Fuel, Incl. 4 - 6

1шт.

4

A50096

VALVE

Use Loctite No. 592

1шт.

B17425

LOCTITE

No. 592, 50 ml

1шт.

5

R57888

FILTER

Use Loctite No. 592

1шт.

B17425

LOCTITE

No. 592, 50 ml

1шт.

6

301-14712

SCREW,Drive, #12 x 3/4"

Use Loctite No. 242

1шт.

B17577

LOCTITE

No. 242, 6 ml

1шт.

7

R49868

GASKET,72mm ID x 90mm OD x 3mm Thk

1шт.

8

R51771

STRAINER ASSY.

If Used

1шт.

9

103-21300

SNAP RING,3.00", Int, #300

Replaces D38743

1шт.

10

R47786

CHAIN (CE)

241 mm (9-1/2 in)

1шт.

11

R48634

FASTENER

1шт.

12

326277A2

SENSOR

Fuel Level L 570, Replaces 326277A1 Fuel Level Sensor L 495

1шт.

13

255095A1

GROMMET

1шт.

14

R27578

PLUG

Use Loctite No. 592

1шт.

B17425

LOCTITE

No. 592, 50 ml

1шт.

345-199

ADHESIVE

1шт.

15

217-81

VALVE

1/8 PT, Use Loctite No. 271

1шт.

B17500

LOCTITE

No. 271, 6 ml

1шт.

16

413-1020

BOLT,Hex, 5/8" - 11 x 1-1/4", Gr 5

4шт.

17

496-21066

WASHER,16.6mm ID x 33.5mm OD x 3.8mm Thk

4шт.

18

D44330

SHIM,.031" Thk

4шт.

19

D93753

PADLOCK

Incl.19

1шт.

20

R29555

KEY

For Master Padlock Only

2шт.

20

D93751

SET OF 2 KEYS

For Yale Padlock Only

2шт.

Models With Cab

1шт.

21

178813A1

FRAME

Seal

1шт.

22

178811A1

SEAL

957 mm (37-5/8 in), Upper, Cut From 235329A1

1шт.

23

178816A1

SEAL

757 mm (29-3/4 in), Front, Vertical, Cut From 235330A1

1шт.

24

178817A1

SEAL

540 mm (21-1/4 in), Rear, Vertical, Cut From 235330A1

1шт.

25

178818A1

SEAL

420 mm (16-1/2 in), Front, Horizontal, Cut From 235330A1

1шт.

26

161-105

HEX SOC SCREW,Btn Hd, 5/16" - 18 x 3/4"

5/16 x 3/4

16шт.

27

260-16512

SELF-TAP SCREW,Cross Pan Hd, #10 x 3/4"

4шт.

28

359740A1

COVER

Fuel Level Sender

1шт.

Выбрано товаров: 36