Запчасти Case 1150K (06-10) - HYDROSTATIC MOTOR (06) - POWER TRAIN

Схема запчастей Case 1150K - (06-10) - HYDROSTATIC MOTOR (06) - POWER TRAIN
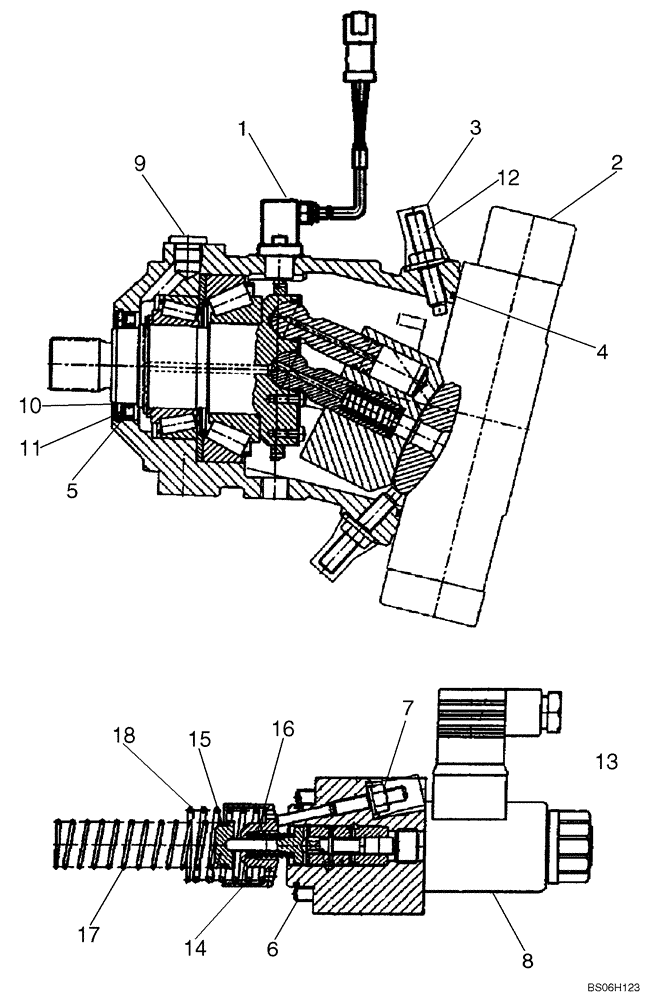
1
17
7
18
8
10
2
3
13
12
6
9
16
4
14
11
5
15
FIT
1:1
100%

Артикул

Название

Примечание

Количество

87313551

HYDRAULIC MOTOR,107CC

Hydrostatic; Incl. 1 - 18, Also Incl. Parts On Figure 06-11

2шт.

87313551R

REMAN-HYDROSTAT MOTO

1150K Series 3, Tier 3, N.A. Only

1шт.

87313551C

CORE-HYDROSTAT MOTOR

Return Number, For N.A. Only

1шт.

87516652

SEAL KIT

Complete Motor Seal Kit

1шт.

1

87516649

SENSOR

Motor Speed Sensor

1шт.

2

87516680

SENSOR

Speed Sensor Control Block

1шт.

3

87441442

LOCK NUT

Seal Lock

2шт.

4

87516655

O-RING,164.69MM ID x 6.762" OD x 3.53MM

164.69 x 3.53 O-Ring

1шт.

5

87516653

SEAL,60mm ID x 80mm OD x 7mm Thk

1шт.

6

87516669

O-RING,39.34mm ID x 1.755" OD x 2.62mm

39.34 x 2.62 O-Ring

1шт.

7

87441441

LOCK NUT

Seal Lock

1шт.

8

87372176

SOLENOID

Solenoid Motor, Replaces 87516674

1шт.

9

87516650

PLUG

M18 x 1.5 Plug

1шт.

10

87516651

RING

80 x 2.5 Retaining Ring

1шт.

11

87516654

PLATE

63 x 80 Backup Plate

1шт.

12

87516656

PIN

Threaded Pin

2шт.

13

87313244

CONTROL

Complete Control Assembly; Replaces 87516657

1шт.

14

87516664

RETAINER COLLAR

Spring

1шт.

15

87516665

RETAINER COLLAR

Spring

1шт.

16

87516666

SPRING

1.4/8.6/19

1шт.

17

87516667

SPRING

1.6/21.1/7

1шт.

18

87516668

SPRING

3.0/36.6/115.0

1шт.

Выбрано товаров: 22