Запчасти Case 1150K (06-11) - HYDROSTATIC MOTOR (06) - POWER TRAIN

Схема запчастей Case 1150K - (06-11) - HYDROSTATIC MOTOR (06) - POWER TRAIN
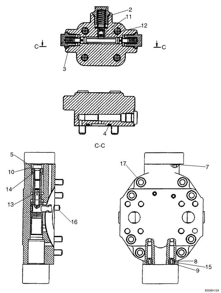
4
15
12
14
17
7
9
13
16
5
3
8
11
2
10
FIT
1:1
100%

Артикул

Название

Примечание

Количество

87313551

HYDRAULIC MOTOR,107CC

Hydrostatic; Includes Parts On This Figure; Also Includes Parts On Figure 06-10

2шт.

87313551R

REMAN-HYDROSTAT MOTO

1150K TIER 3 (10/06)

2шт.

87313551C

CORE-HYDROSTAT MOTOR

Return Number

1шт.

2

87441440

SEAL

1шт.

3

87441439

SEAL

2шт.

4

87441437

SEAL

1шт.

5

87364928

VALVE

Flushing Valve Assembly; Replaces 87516658

1шт.

7

238-8011

O-RING,0.07" Thk x 0.301" ID, -11, Cl 8, 90 Duro

6шт.

8

87441438

SEAL

2шт.

9

87441445

SEAL

2шт.

10

864-12025

HEX SOC SCREW,M12 x 25mm, Cl 8.8

Not Illustrated

1шт.

11

87516679

ORIFICE

Flushing Orifice

1шт.

12

87516678

RING

Orifice Retaining

1шт.

13

87516660

PISTON

Positioning

1шт.

14

87516661

PISTON

1шт.

15

87516662

BACK-UP RING

2шт.

16

87516663

PIN

Cylinder

2шт.

17

87516683

HEX SOC SCREW,M12 x 35mm, Cl 8.8

M12 x 34 Socket Head

8шт.

87516671

HEX SOC SCREW,M8 x 45mm, Cl 8.8

M8 x 45 Socket Head

4шт.

87516681

HEX SOC SCREW,M6 x 16mm, Cl 8.8

M6 x 16 Socket Head

2шт.

87516677

HEX SOC SCREW,M10 x 55mm, Cl 10.9

M10 x 55 Socket Head

4шт.

87516682

O-RING,17.3mm ID x 2.2mm Width

17.3 x 2.2

1шт.

87516672

PLUG

M14 x 1.5 Plug

1шт.

87516675

PLUG

#60 Plug

2шт.

87516676

PLUG

#60 Plug

1шт.

87516673

PIN

M6 x 30 Threaded Pin

1шт.

Выбрано товаров: 26