Запчасти Case 1150K (06-13) - PUMP ASSEMBLY, TANDEM (06) - POWER TRAIN

Схема запчастей Case 1150K - (06-13) - PUMP ASSEMBLY, TANDEM (06) - POWER TRAIN
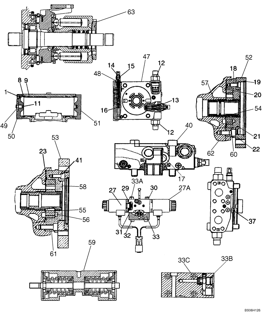
16
37
49
32
21
9
31
54
33a
47
30
51
27
56
1
59
23
60
33b
48
53
33c
22
8
17
55
18
12
57
50
62
13
41
33
27a
63
40
19
14
52
15
58
29
12
20
61
FIT
1:1
100%

Артикул

Название

Примечание

Количество

87313547

PUMP,90 CC

Tandem, Includes Parts On This Figure; Also Includes Figure 06-12

1шт.

87313547R

REMAN-HYDROSTAT PUMP

1150K TIER 3 (10/06-)

1шт.

87313547C

CORE-HYDROSTAT PUMP

Return Number

1шт.

1

863-6020

HEX SOC SCREW,M6 x 20mm, Cl 12.9

Front and Rear Pumps

16шт.

8

238-5148

O-RING,0.103" Thk x 2.737" ID, -148, Cl 5, 75 Duro

4шт.

9

87441417

RING

Guide; Front and Rear Pumps

4шт.

11

238-6012

O-RING,0.07" Thk x 0.364" ID, -12, Cl 6, 90 Duro

Positioning Piston Rod; Front and Rear Pumps

2шт.

12

87516845

VALVE, PRESSURE RELI

EF Main Relief; Front and Rear Pumps; Component Parts Not Serviced Separately

4шт.

13

87441430

VALVE PRESSURE RELIE

Charge Pressure Relief; Component Parts Not Serviced Separately; Includes (1) 87441428 Seal Lock Nut; Front Shaft End Pump

1шт.

14

87441431

VALVE PRESSURE RELIE

Pressure Overide; Incl. Ref 15, 16; Front and Rear Pumps

1шт.

15

87441427

LOCK NUT

1шт.

16

238-6010

O-RING,0.07" Thk x 0.239" ID, -10, Cl 6, 90 Duro

1шт.

17

87516854

BEARING LINER

1шт.

18

864-10025

HEX SOC SCREW,M10 x 25mm, Cl 8.8

Front Pump Support Plate

4шт.

19

238-5159

O-RING,0.103" Thk x 4.987" ID, -159, Cl 5, 75 Duro

Front Pump Support Plate

1шт.

20

87516850

WEAR PLATE

Wear Plate Assy

1шт.

87516858

WEAR PLATE

1шт.

21

238-5152

O-RING,0.103" Thk x 3.237" ID, -152, Cl 5, 75 Duro

1шт.

22

87441426

RING

Bolt Seal; Front Pump Support Plate

8шт.

23

238-5153

O-RING,0.103" Thk x 3.487" ID, -153, Cl 5, 75 Duro

Rear Pump Wear Plate

1шт.

87484405

MODULE

Pump Control Module, Complete; Incl. Ref 27-33C; Replaces 87516832

2шт.

27

87441418

SOLENOID VALVE

Proportional Solenoid, Control Module; Front and Rear Pumps 12 Volt

2шт.

27a

87484404

SOLENOID

Proportional Control Module Solenoid 24 Volt; Replaces 87516859

2шт.

29

238-6121

O-RING,0.103" Thk x 1.049" ID, -121, Cl 6, 90 Duro

2шт.

30

87444198

GASKET

Solenoid Base; Front and Rear Pumps

1шт.

31

87441403

GASKET

Control Module Cover; Front and Rear Pumps

1шт.

32

87441423

BOLT,Skt Hd, M6 x 65mm, Gr 8.8

Socket Head; Front and Rear Pumps

4шт.

33

87516860

COVER

Cover Solenoid Control Module

1шт.

33a

87516861

PIN

Cylinder Pin

2шт.

33b

87516863

FILTER

Filter, Control Module

1шт.

33c

87516834

PLUG

9/16 - 18 UNF Locking Plug

4шт.

37

87516847

O-RING,1.78mm Thk x 7.65mm ID

7.65 x 1.78 O-Ring

2шт.

40

863-16090

HEX SOC SCREW,M16 x 90mm, Cl 12.9

4шт.

41

864-8016

HEX SOC SCREW,M8 x 16mm, Cl 8.8

8шт.

238-6123

O-RING,0.103" Thk x 1.174" ID, -123, Cl 6, 90 Duro

1шт.

47

87516830

HYDRAULIC VALVE

Port Plate With Valves

1шт.

87516848

SEAL KIT

Seal Kit For Port Plate With Valves

1шт.

48

87516846

LOCK SCREW

M10 x 1 Locking Screw

1шт.

49

87516843

NUT

M12 Hex Nut

1шт.

50

87516841

COVER

Stroking Piston Cover

1шт.

51

87516842

COVER

Stroking Piston Cover

1шт.

52

87516852

FLANGE

Intermediate Flange, Front Pump

1шт.

53

87516865

FLANGE

Intermediate Flange, Rear Pump

1шт.

54

87516857

SHAFT

Shaft Key, Front Pump

1шт.

55

87516866

SHAFT

Shaft Key, Rear Pump

1шт.

56

87516856

WHEEL SET

Gear Set

1шт.

57

87516855

DRIVE SHAFT

Through Shaft

1шт.

58

87516853

COVER

Charge Pump

1шт.

59

87516840

PISTON

Positioning

1шт.

60

87516849

PUMP

Internal Gear Pump/A, Front Pump

1шт.

61

87516864

PUMP

Internal Gear Pump/A, Rear Pump

1шт.

87516851

SEAL KIT

Seal Kit For Internal Gear Pump

1шт.

62

87516831

FLANGE

Drive

1шт.

63

87516829

CONTROL

Stroking/A Hydraulic Control

1шт.

87516844

SEAL KIT

Seal Kit for Hydraulic Control Stroking/A

1шт.

87516833

PLUG

1-1/16 - 12 UN Plug

1шт.

87516835

PLUG

7/16 - 20 UNF Plug

3шт.

87516836

PLUG

M33 x 2 Plug

1шт.

87516837

RING

40 x 1.75 Retaining

1шт.

Выбрано товаров: 59