Запчасти Case 1150K (07-02) - PEDALS - BRAKE AND DECELERATOR (07) - BRAKES

Схема запчастей Case 1150K - (07-02) - PEDALS - BRAKE AND DECELERATOR (07) - BRAKES
10
4
2
11
6
13
25
25
3
21
7
17
5
12
16
1
19
8
12
23
11
9
24
18
15
14
10
20
15
10
5
26
22
6
11
FIT
1:1
100%

Артикул

Название

Примечание

Количество

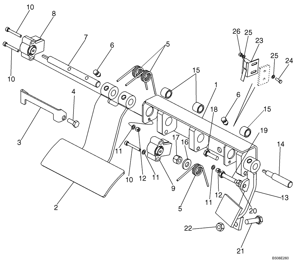
1

87378247

MOUNTING PLATE

Bracket, Control Mount

1шт.

2

87395678

PEDAL

Brake

1шт.

3

87395688

BRAKE PLATE

Stop Plate

1шт.

4

614-8020

BOLT,Hex, M8 x 1.25 x 20mm

2шт.

5

380483A2

SPRING

3шт.

6

569475

SCREW

M10

3шт.

7

87395677

SHAFT

Brake Shaft

1шт.

8

87337479

SENSOR

Rotatory

1шт.

9

87337478

SENSOR

Rotary, Throttle

1шт.

10

864-5040

HEX SOC SCREW,M5 x 40mm, Cl 8.8

4шт.

11

895-11005

WASHER,5.5mm ID x 10mm OD x 1mm Thk

8шт.

12

832-10405

NUT,M5 x .8, Cl 8

4шт.

13

87379179

PEDAL

Decelerator Pedal

1шт.

14

87378252

ROD

Sensor Rod

1шт.

15

79060774

BUSHING

Bearing

3шт.

16

896-15010

WASHER,11mm ID x 24mm OD x 3mm Thk

1шт.

17

832-10410

NUT,M10 x 1.5, Cl 8

1шт.

18

614-8030

BOLT,Hex, M8 x 1.25 x 30mm, Cl 8.8, Full Thd

1шт.

19

614-8040

BOLT,Hex, M8 x 1.25 x 40mm, Cl 8.8, Full Thd

1шт.

20

825-1008

NUT,M8, Cl 8

1шт.

21

614-10035

BOLT,Hex, M10 x 1.5 x 35mm, Cl 8.8, Full Thd

1шт.

22

829-1410

NUT,M10 x 1.5, Cl 10.9

1шт.

23

87516926

SWITCH

Decelerator Switch

1шт.

24

614-5016

BOLT,Hex, M5 x 0.8 x 16mm, Cl 8.8, Full Thd

2шт.

25

895-11005

WASHER,5.5mm ID x 10mm OD x 1mm Thk

4шт.

26

832-10405

NUT,M5 x .8, Cl 8

2шт.

Выбрано товаров: 26