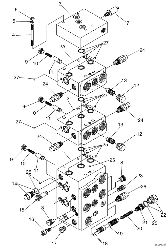
Запчасти Case 1150K (08-18) - VALVE ASSY - CONTROL, FOUR SPOOL (08) - HYDRAULICS

Схема запчастей Case 1150K - (08-18) - VALVE ASSY - CONTROL, FOUR SPOOL (08) - HYDRAULICS
20
11
13
23
16
6
9
2
27
10
25
14
10
12
18
24
25
17
4
12
5
24
25
19
27
15
24
21
22
8
25
26
27
24
10
11
11
27
9
7
2a
1
3
9
13
8
FIT
1:1
100%

Артикул

Название

Примечание

Количество

87604364

CONTROL VALVE

Four Spool Control Valve, W/O Plug At Spool Loading Valve; Incl. Ref 1 - 27 ; Replaces 87341634, W/ Screw Plug At Spool Loading Valve; Also See Fig 08-19, 08-20, 08-21

1шт.

1

NSS

NOT SOLD SEPARAT

HOUSING, Tilt and Lift

1шт.

2

NSS

NOT SOLD SEPARAT

HOUSING, Section, Angle; Also See Figure 08-20

1шт.

2a

NSS

NOT SOLD SEPARAT

HOUSING, Section, Ripper; Also See Figure 08-21

1шт.

3

87516595

END PLATE

End Cover Plate

1шт.

4

87516596

STUD,M8 x 120mm, Cl 10.9

M8 x 120; 10.9 Stud

4шт.

5

892-11008

LOCK WASHER,8mm ID

4шт.

6

87516610

NUT

M8 Hex Nut

4шт.

7

87516636

HYDRAULIC VALVE

FTDRE4; For Service of External Seals, Order 87516646 Seal Kit

1шт.

87516646

SEAL KIT

Seal Kit; Includes (3) O-Rings, (2) Backup Rings

1шт.

8

87516613

PLUG

MHDB16, k10/VFB Plug

4шт.

9

8602923

SCREW,Lock, M18 x 1.5

M18 x 1.5 Plug

4шт.

10

87567795

SPRING

4шт.

11

87567794

CONE

4шт.

12

87516612

PLUG

M22 x 1.5

2шт.

13

87516611

SPOOL

Compensator

2шт.

14

87567789

VALVE

Pre-Charge

1шт.

15

8604567

VALVE, CHECK

2шт.

16

87567788

VALVE PRESSURE RELIE

Load Sense Relief Valve; For Service Of Seals, Order 87516641 Seal Kit

1шт.

87516641

SEAL KIT

Seal Kit; Includes (3) O-Rings, (4) Backup Rings

1шт.

17

87516623

PLUG

M22 x 1.5 Plug

2шт.

18

87567792

PLUG

Orifice, Unloading; Use With 87341634 Control Valve

2шт.

18

87613175

ORIFICE

Orifica, Unloading; Use With 87604364 Control Valve

2шт.

19

87567790

SPOOL

Unloading Spool; Use With 87341634 Control Valve

1шт.

19

87613176

SPOOL

Unloading Spool; Use With 87604364 Control Valve

1шт.

20

87567793

SPRING

1шт.

21

87567791

SLEEVE

1шт.

22

87516622

PLUG

M33 x 1.5 Plug; If Used

1шт.

23

87516616

REGULATOR

Load Sense Regulator; For Service Of External Seals, Order 87516644 Seal Kit

1шт.

87516644

SEAL KIT

Includes (2) O-Rings, (2) Backup Rings

1шт.

24

87516614

VALVE, PRESSURE RELI

EF Secondary Relief Valve; For Service Of External Seals, Order 87567796 Seal Kit

4шт.

87567796

SEAL KIT

Seal Kit; Includes (3) O-Rings, (1) Backup Ring

4шт.

25

87516638

SEAL KIT

Seal Kit, Valve Block; Includes (18) O-Rings; (4) O-Rings Are For The Lift and Tilt Spools, See Figure 08-19

1шт.

26

87574408

VALVE, PRESSURE RELI

EF Main Relief Valve; For Service Of External Seals, Order 87567797 Seal Kit

1шт.

87567797

SEAL KIT

Seal Kit; Includes (2) O-Ring, (1) Backup Ring

1шт.

27

8604566

SEAL KIT

Seal, Includes (12) O-Rings For Angle or Ripper Section, See Figure 08-20 or 08-21 For Angle or Ripper; Also Includes (2) Spool O-Rings

1шт.

Выбрано товаров: 36