Запчасти Case 1150K (02-02) - RADIATOR/OIL COOLER - MOUNTING (02) - ENGINE

Схема запчастей Case 1150K - (02-02) - RADIATOR/OIL COOLER - MOUNTING (02) - ENGINE
32
15
4
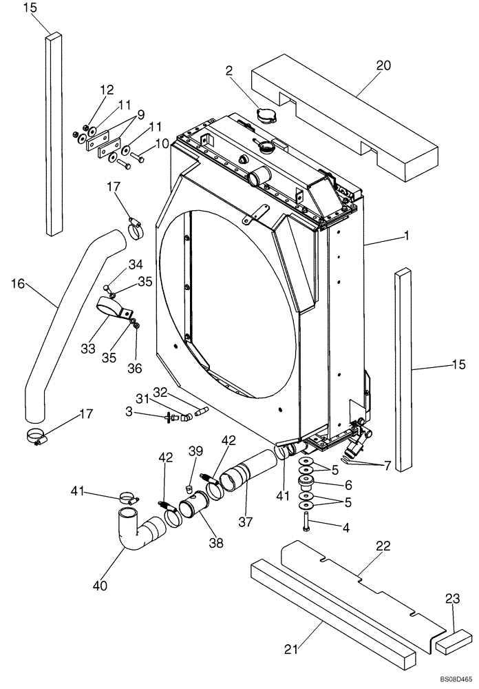
1
5
39
41
23
42
35
3
42
17
2
37
11
10
12
36
40
16
22
35
34
11
33
20
7
15
5
17
6
41
9
38
31
21
FIT
1:1
100%

Артикул

Название

Примечание

Количество

1

87379707

COOLER ASSY.

Radiator/Oil Cooler Assembly; See Figure 02-03

1шт.

2

A170241

RADIATOR CAP

1шт.

3

217-92

COCK

1/4

1шт.

4

814-12060

BOLT,Hex, M12 x 1.75 x 60mm, Cl 8.8

2шт.

5

R40262

WASHER,13.11mm ID x 47.75mm OD x 2.38mm Thk

8шт.

6

A59514

RUBBER BUSHING,13.49mm ID x 34.29mm OD x 41.1mm L

Mount

2шт.

7

9824050

O-RING,0.07" Thk x 0.926" ID, -21, Cl 6, 90 Duro

2шт.

9

435979A1

STRAP

Radiator Mount

4шт.

10

827-10045

BOLT,Hex, M10 x 1.5 x 45mm, Cl 10.9

4шт.

11

39519

WASHER,10.31mm ID x 34.9mm OD x 3.57mm Thk

8шт.

12

832-41410

NUT,M10 x 1.5, Cl 10

4шт.

15

R53624

PAD

2 x 31-5/16; Adhesive Back

2шт.

16

87571277

HOSE

Engine to Radiator Inlet; Use With Loctite 30525 Hi-Tack at Engine Outlet

1шт.

17

214-3140

HOSE CLAMP,1-3/4" - 2-5/8", HD Worm

2шт.

20

87542265

INSULATOR

770 mm (30-5/16 in); Adhesive Back Seal; Upper

1шт.

21

87347776

SEALING STRIP,50.8mm W x 770mm L x 50.8mm Thk

770 x 50.8 x 50.8 mm; Lower Radiator Seal

1шт.

22

87347777

PLATE

Lower Radiator

1шт.

23

87353987

FOAM INSULATION

120 x 50.8 x 25.4 mm; Lower

2шт.

31

87025801

ELBOW

45 Deg. Elbow

1шт.

32

221-1137

PIPE,Nipple, 1/4" NPT x 2"

2

1шт.

33

R57155

CLAMP

Upper Radiator Hose

1шт.

34

614-8025

BOLT,Hex, M8 x 1.25 x 25mm, Cl 8.8, Full Thd

1шт.

35

895-11008

WASHER,9mm ID x 16mm OD x 1.6mm Thk

2шт.

36

832-10408

NUT,M8 x 1.25, Cl 8.8

1шт.

37

87390465

HOSE,50.80 mm ID, 57.20 mm ID x 208.50 mm, SAE J20R4 CLASS C Or D1

Use With Loctite 30525 Hi-Tack

1шт.

38

87390467

TUBE

1шт.

39

217-407

PLUG,Hex Hd, 3/8" - 18 NPT

Pipe; If Used

1шт.

40

87398813

HOSE,50.80 mm ID, 57.20 mm ID x 157.10 mm, SAE J20R4 CLASS C Or D2

Use With Loctite 30525 Hi-Tack; Radiator to Engine Inlet

1шт.

41

214-3140

HOSE CLAMP,1-3/4" - 2-5/8", HD Worm

2шт.

42

L115548

CLAMP,57.15mm - 79.38mm

2шт.

Выбрано товаров: 30