Запчасти Case 1150K (02-19) - CYLINDER BLOCK - PLUGS AND PISTONS (02) - ENGINE

Схема запчастей Case 1150K - (02-19) - CYLINDER BLOCK - PLUGS AND PISTONS (02) - ENGINE
9
15
17
16
8
6
13
14
1
11
10
5
4
8
3
7
6
7
2
12
FIT
1:1
100%

Артикул

Название

Примечание

Количество

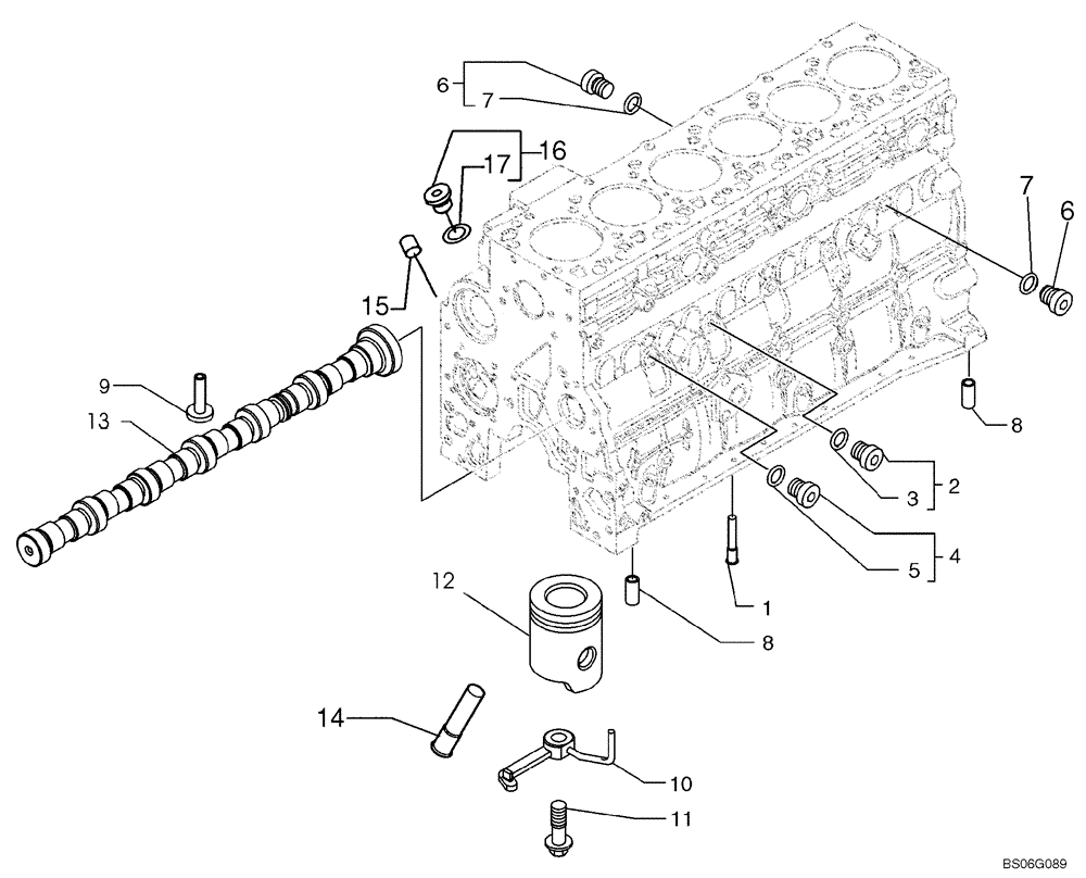
1

4896153

PLUG

If Used

6шт.

2

4895605

HEX SOCKET PLUG,M14 x 1.5

- Assy; Incl. Ref 3

2шт.

3

4899115

O-RING,2.2mm Thk x 11.3mm ID

1шт.

4

4899009

PLUG,M10 x1

Incl. Ref 5

2шт.

5

4899072

O-RING,1.6mm Thk x 8.1mm ID

1шт.

6

4895392

HEX SOCKET PLUG,M18 x 1.5

- Assy; Incl. Ref 7

2шт.

7

4895393

O-RING,2.2mm Thk x 15.3mm ID

1шт.

8

4895049

DOWEL,M16.05 x 10

2шт.

9

4891226

TAPPET

57 mm Length; Replaces 4899803 54 mm Length; Used On Some Models

12шт.

10

2852202

NOZZLE, PISTON COOLI

Incl. Ref 11

6шт.

11

4894218

SCREW,Special, M8 x 20

1шт.

12

REF

INSTRUCTION

Piston; See Figure 02-35

1шт.

13

REF

INSTRUCTION

Camshaft; See Figure 02-30

1шт.

14

4896865

LUBE OIL NOZZLE

LUBE OIL JET NOZZLE Piston Cooling

6шт.

15

4895406

EXPANSION PLUG,9.8mm OD

2шт.

16

4897330

HEX SOCKET PLUG,M12 x 1.5

Incl. Ref 17

1шт.

17

4895610

O-RING,2.2mm Thk x 9.3mm ID

1шт.

Выбрано товаров: 17