Запчасти Case 1150K (03-02) - FUEL LINES (03) - FUEL SYSTEM

Схема запчастей Case 1150K - (03-02) - FUEL LINES (03) - FUEL SYSTEM
6
7
2
21
20
30
2
31
3
2
2
12
8
4
10
5
24
11
18
15
32
1
16
2
23
33
34
9
22
25
26
13
29
24
28
2
1
2
2
12
27
11
3
14
5
2
5
FIT
1:1
100%

Артикул

Название

Примечание

Количество

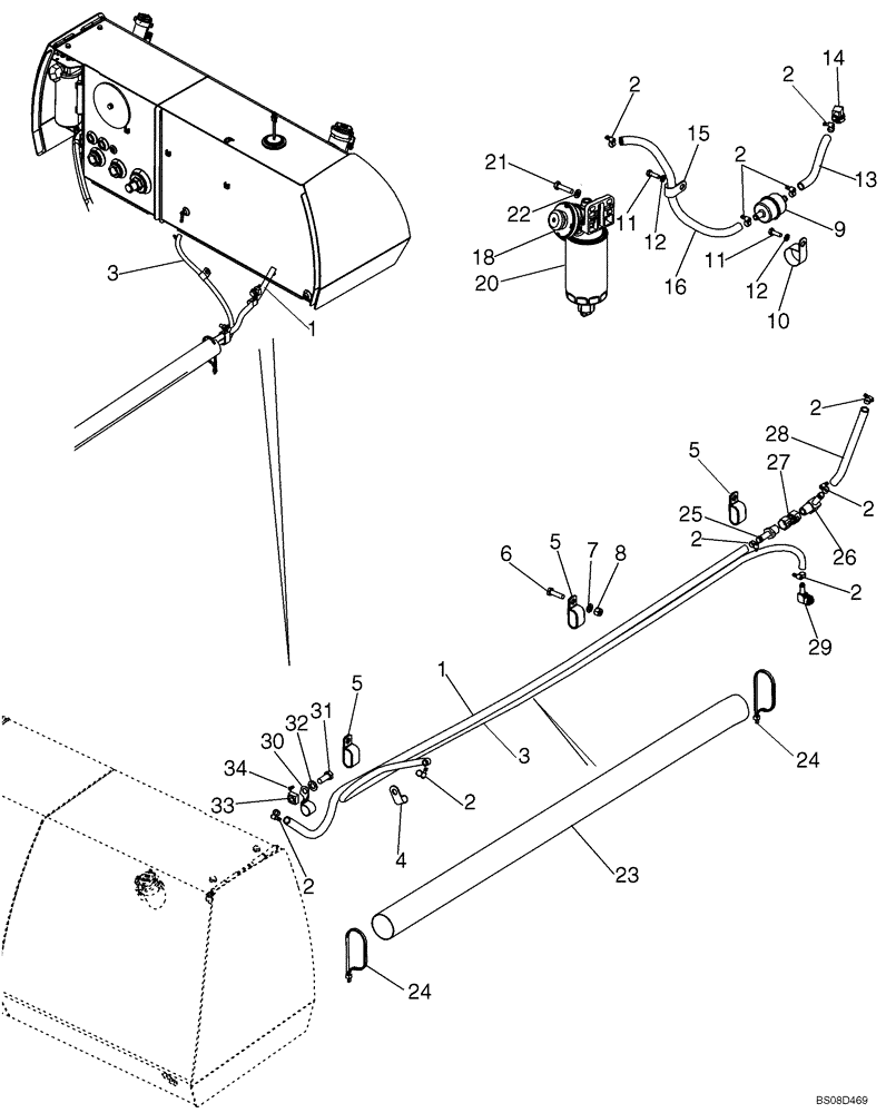
1

87323440

FUEL HOSE

1900 mm (74-13/16 in); Supply; Cut From S118466X; Routes Through Upper Part Of Hose Sleeve

1шт.

2

214-1708

HOSE CLAMP,#08, 0.5" - 0.91", Type M Worm

10шт.

3

87525901

FUEL HOSE,9.53 mm ID x 2135.00 mm, SAE 30R2 or SAE 30R7

Return; Cut From S118400X

1шт.

4

515-25159

CLAMP,5/8", Insul, 1/2" Bolt

Uses Existing Hydraulic Brake Hardware

1шт.

5

H434289

MOUNTING CLIP,7/8”, Insulated, 1/2” Bolt

Double Clamp, 22.2 dia

3шт.

6

614-10035

BOLT,Hex, M10 x 1.5 x 35mm, Cl 8.8, Full Thd

Thread to Head

3шт.

7

895-11010

WASHER,11mm ID x 20mm OD x 2mm Thk

3шт.

8

832-10410

NUT,M10 x 1.5, Cl 8

3шт.

9

194199A1

FUEL FILTER

In-Line Fuel Filter

1шт.

10

515-25444

CLAMP,1 3/4", Insul, 7/16" Bolt

1шт.

11

614-8020

BOLT,Hex, M8 x 1.25 x 20mm

2шт.

12

895-11008

WASHER,9mm ID x 16mm OD x 1.6mm Thk

2шт.

13

87527573

FUEL HOSE,12.70 mm ID x 135.00 mm, SAE 30R2 or SAE 30R7

Supply; Cut From S118466X

1шт.

14

87442270

FITTING

90 deg Elbow; Includes 87445405 O-Ring

1шт.

87445405

O-RING

1шт.

15

515-25238

CLAMP,15/16", Insul, 1/2" Bolt

1шт.

16

87578254

FUEL HOSE,12.70 mm ID x 415.00 mm

Separator to In-Line Filter; Cut from S118466X

1шт.

REF

INSTRUCTION

SEE NOTES BELOW BEFORE CHOOSEING FOR REF 18-20A

1шт.

18

87564387

FILTER ASSY

WATER SEPARATOR Without Heater; Incl. Ref 20

1шт.

18a

87438159

SENSOR

Water Sensor Used with Ref 20A

1шт.

19

87612475

SENSOR

Water Sensor Used with Ref. 20 (Not Shown)

1шт.

20

87803445

FUEL FILTER,79.2mm OD x 4.3" L, 30 Microns

Cartridge, Service Replacement

1шт.

20a

87435526

FUEL FILTER

Used With Ref 18A

1шт.

21

614-10040

BOLT,Hex, M10 x 1.5 x 40mm, Cl 8.8, Full Thd

2шт.

22

895-11010

WASHER,11mm ID x 20mm OD x 2mm Thk

2шт.

23

87340827

SLEEVE

1350 mm (53-5/32 in) Long

1шт.

24

L18331

CABLE TIE,375.9mm L, Nylon

CABLE STRAP

2шт.

25

217-168

FITTING,1/2" Hose Barb x 1/2" Male NPTF

Use With 345-147 Thread Sealant

1шт.

26

217-335

FITTING,90 Degree Elbow, 1/2" Hose Barb x 1/2" Male NPTF

1шт.

27

86984713

SHUT-OFF VALVE

Brass; One-Way; 1/2 FNPT x 1/2 FNPT

1шт.

28

87578255

FUEL HOSE,12.70 mm ID x 465.00 mm

Supply; Cut from S118466X

1шт.

29

87400460

90 ELBOW

Incl. 87445404 O-Ring

1шт.

87445404

O-RING,2.5mm Thk x 8mm ID, 60 Duro

1шт.

30

R45966

CLAMP,0.94mm, Coat, 90 Degree Twist

90 Degree Twist

1шт.

31

627-12030

BOLT,Hex, M12 x 1.75 x 30mm, Cl 10.9, Full Thd

1шт.

32

895-11012

WASHER,13.5mm ID x 24mm OD x 2.5mm Thk

1шт.

33

87447306

SQUARE NUT,M12 x 21mm x 21mm x 11mm H ZND Cl 5A

Cage, M12

1шт.

34

336371A1

PIN,4.88mm OD x 14.23mm L

Nut Retainer

1шт.

Выбрано товаров: 38