Запчасти Case 1150K (04-11) - RIPPER CONTROL, ELECTRIC (04) - ELECTRICAL SYSTEMS

Схема запчастей Case 1150K - (04-11) - RIPPER CONTROL, ELECTRIC (04) - ELECTRICAL SYSTEMS
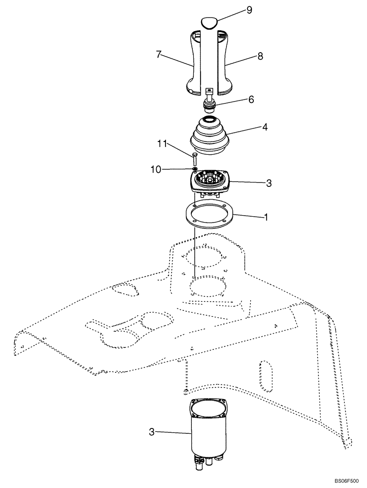
1
9
11
4
3
6
3
8
10
7
FIT
1:1
100%

Артикул

Название

Примечание

Количество

1

87386605

RETAINING PLATE

Upper Adapter Plate, Mounts on Top of Right Hand Console

1шт.

84167852

JOYSTICK

Ripper Control Assy; Mounts next to Blade Control in RH Console; Incl. Ref 3 - 9

1шт.

3

84167853

JOYSTICK CONTROL KIT

Ripper, Base

1шт.

4

87386593

BOOT

Ripper Control

1шт.

87386592

HANDLE GRIP

Assy; Incl. Ref 6 - 9

1шт.

6

87433762

ADAPTER

1шт.

7

87428164

HANDLE GRIP

Left Hand

1шт.

8

87428165

HANDLE GRIP

Right Hand

1шт.

9

87388899

BEZEL

1шт.

10

892-11006

LOCK WASHER,M6

4шт.

11

614-6030

BOLT,Hex, M6 x 1 x 30mm, Cl 8.8, Full Thd

4шт.

Выбрано товаров: 11