Запчасти Case 1150K (04-17) - LAMPS, ROPS CAB (04) - ELECTRICAL SYSTEMS

Схема запчастей Case 1150K - (04-17) - LAMPS, ROPS CAB (04) - ELECTRICAL SYSTEMS
6
15
8
2
9
8
15
13
11
1
7
6
4
3
4
2
6
13
17
5
9
16
6
3
5
9
14
13
16
10
17
17
13
12
12
8
FIT
1:1
100%

Артикул

Название

Примечание

Количество

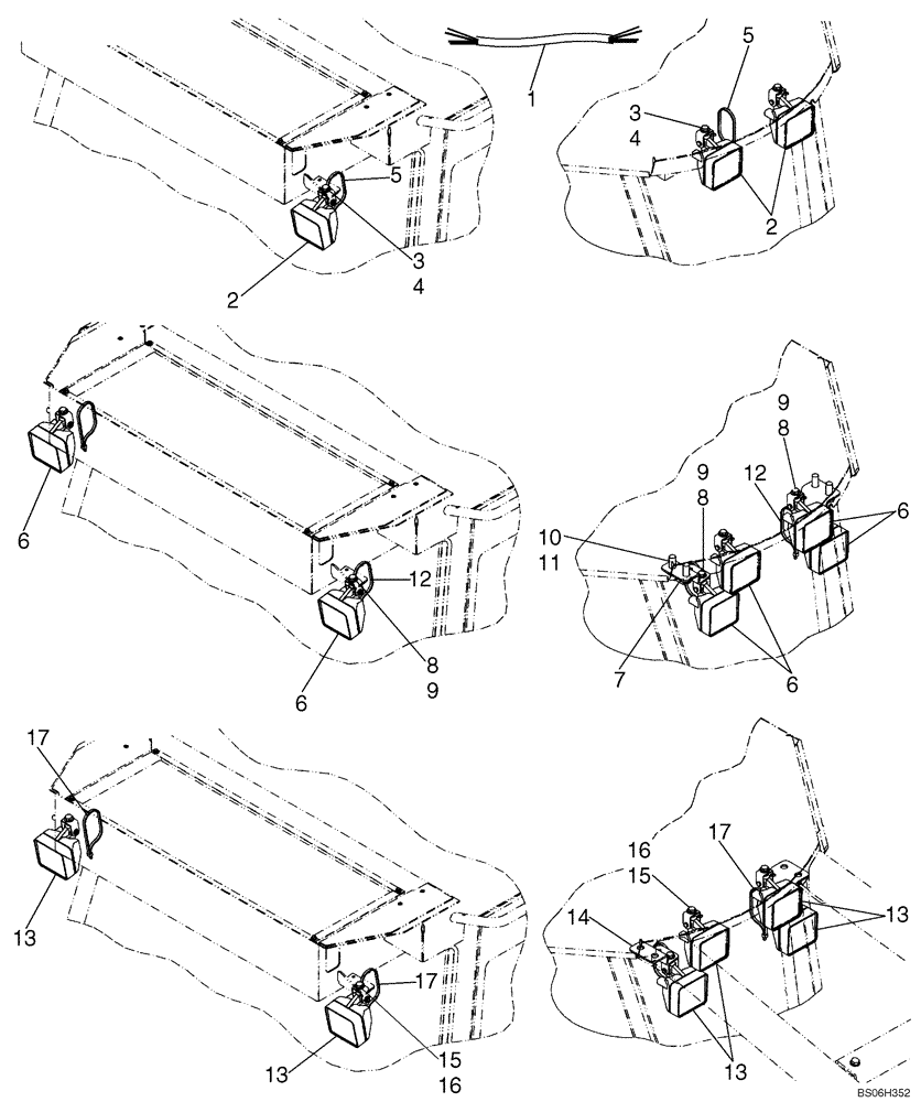
1

87370159

WIRE HARNESS

Cab Lamps

1шт.

REF

INSTRUCTION

STANDARD CAB LIGHT PACKAGE

1шт.

2

87555142

LIGHT ASSY.,Halogen, 24V, 65W, Clear

24V, 65W; Front and Rear Flood and Work Lamps; Incl. 87563198 Lamp; (2 Front/1Rear)

3шт.

87563198

BULB,24V, 65 WATT, H.D. H - 3

24V, 65W Heavy Duty H-3 Bulb

1шт.

3

614-10016

BOLT,Hex, M10 x 1.5 x 16mm, Cl 8.8, Full Thd

3шт.

4

895-15010

WASHER,11mm ID x 24mm OD x 2mm Thk

3шт.

5

L18331

CABLE TIE,375.9mm L, Nylon

CABLE STRAP

2шт.

REF

INSTRUCTION

CAB WORK LIGHTS WITHOUT SWEEPS

1шт.

6

87555142

LIGHT ASSY.,Halogen, 24V, 65W, Clear

24V, 65W; Front and Rear Flood and Work Lamps; Incl. 87563198 Lamp

6шт.

87563198

BULB,24V, 65 WATT, H.D. H - 3

24V, 65W Heavy Duty H-3 Bulb

1шт.

7

87563194

BRACKET

Front Lamp Bracket

2шт.

8

614-10016

BOLT,Hex, M10 x 1.5 x 16mm, Cl 8.8, Full Thd

6шт.

9

895-15010

WASHER,11mm ID x 24mm OD x 2mm Thk

6шт.

10

627-16040

BOLT,Hex, M16 x 2 x 40mm, Cl 10.9, Full Thd

Bracket Mounting, Front Lamps

4шт.

11

896-11016

WASHER,17.5mm ID x 30mm OD x 4mm Thk

4шт.

12

L18331

CABLE TIE,375.9mm L, Nylon

CABLE STRAP

4шт.

REF

INSTRUCTION

CAB WORK LIGHTS WITH SWEEPS

1шт.

13

87555142

LIGHT ASSY.,Halogen, 24V, 65W, Clear

24V, 65W; Front and Rear Flood and Work Lamps; Incl. 87563198 Lamp

6шт.

87563198

BULB,24V, 65 WATT, H.D. H - 3

24V, 65W Heavy Duty H-3 Bulb

1шт.

13

47682624

WORK LAMP

LAMP, WORK, LED

6шт.

14

87563194

BRACKET

Front Lamp Bracket; Uses Existing Sweep Hardware

2шт.

15

614-10016

BOLT,Hex, M10 x 1.5 x 16mm, Cl 8.8, Full Thd

6шт.

16

895-15010

WASHER,11mm ID x 24mm OD x 2mm Thk

6шт.

17

L11541

CABLE TIE,203.2mm L, Nylon

CABLE STRAP 7-8 Inch Nylon Strap

7шт.

Выбрано товаров: 0