Запчасти Case 1155D (070) - FUEL INJECTION SYSTEM, 504BD AND 504BDT DIESEL ENGINES (03) - FUEL SYSTEM

Схема запчастей Case 1155D - (070) - FUEL INJECTION SYSTEM, 504BD AND 504BDT DIESEL ENGINES (03) - FUEL SYSTEM
23
21
4
29
3
13
10
12
11
30
6
21
8
7
24
5
20
21
11
31
27
28
9
12
24
2
20
1
10
30
FIT
1:1
100%

Артикул

Название

Примечание

Количество

1

REF

INSTRUCTION

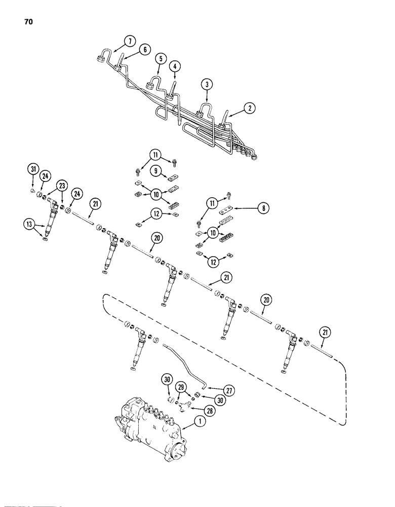
PUMP ASSEMBLY - injection ( Fig. 70)

1шт.

2

A156885

TUBE

- injection (No. 1 cylinder)

1шт.

3

A156886

TUBE

- injection (No. 2 cylinder)

1шт.

4

A156887

TUBE

- injection (No. 3 cylinder)

1шт.

5

A156888

TUBE

- injection (No. 4 cylinder)

1шт.

6

A156889

TUBE

- injection (No. 5 cylinder)

1шт.

7

A156890

PIPE

TUBE - injection (No. 6 cylinder)

1шт.

8

A58708

PLATE

- injection tube bracket (For 6 tubes)

1шт.

9

A58710

PLATE

- injection tube bracket (For 4 tubes)

1шт.

10

A58709

BRACKET

PLATE - injection tube bracket (For 2 tube)

14шт.

11

163-19

SCREW,Sl Hex Wshr Hd, #10 - 24 x 1"

- slotted hex head, No. 10 NC x 1 inch

7шт.

12

131-612

SPRING NUT,Flat, #10 - 24, 0.022" Thk

NUT - Tinnerman, No. 10

7шт.

13

REF

INSTRUCTION

NOZZLE ASSEMBLY - injector (Fig. 70)

6шт.

20

A76641

TUBE

- fuel leak-off, 5-7/8 inch (149 mm) long

2шт.

21

A76642

TUBE

- fuel leak-off, 4-51/64 inch (122 mm) long

3шт.

23

222-101

SLEEVE,3/16" Tube

- for 3/16 inch tube

12шт.

24

222-111

TUBE NUT,7/16" - 24

NUT - for 3/16 inch tube

12шт.

27

A153816

TUBE

- fuel leak-off (No. 1, Serial Range: nozzle-pump)

1шт.

28

A59097

VALVE

TEE ASSEMBLY - check valve (One way valve), Includes: Ref. 29 & 30

1шт.

29

222-102

SLEEVE,1/4" Tube

2шт.

30

87017024

TUBE NUT,1/2"-24

NUT - for 1/4 inch tube

2шт.

31

47-37

RIVET,FH, 3/16" x 7/16"

PLUG - junction tee

1шт.

Выбрано товаров: 22