Качественные детали и логистика
Оригинальные и аналоговые запчасти с доставкой по России, Казахстану и Беларуси
©2022 PartSell ООО "Система" ИНН 2463123282 ОГРН 1212400004838
Центральный офис: г. Красноярск, Академика Киренского, д.87, пом.4
Телефон: 8 (800) 777-65-74 Email: zakaz@partsell.ru
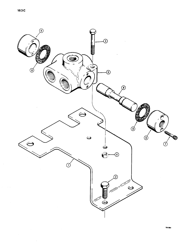
(163C) - TRANSMISSION DIVERTER VALVE AND MOUNTING
№
Артикул
Название
Примечание
Количество
1
G102725
PLATE
1шт.
2
13-616
BOLT,Hex, 3/8" - 16 x 1", Gr 5, Full Thd
2шт.
3
13-532
BOLT,Hex, 5/16" - 18 x 2", Gr 5
4
9635082
NUT,5/16" - 18, Gr 5
- hex, 5/16" - 18 NC
G102234
VALVE
- diverter, Includes: Ref. 5 - 9
5
NSS
NOT SOLD SEPARAT
BODY
6
G102237
CAP
7
165-35
SCREW - hex socket, No. 10 - 32 NC x 1"
4шт.
8
G102238
GASKET
9
SPOOL
Выбрано товаров: 0