Запчасти Case 1450 (190) - POWER BRAKES (07) - BRAKES

Схема запчастей Case 1450 - (190) - POWER BRAKES (07) - BRAKES
FIT
1:1
100%

Артикул

Название

Примечание

Количество

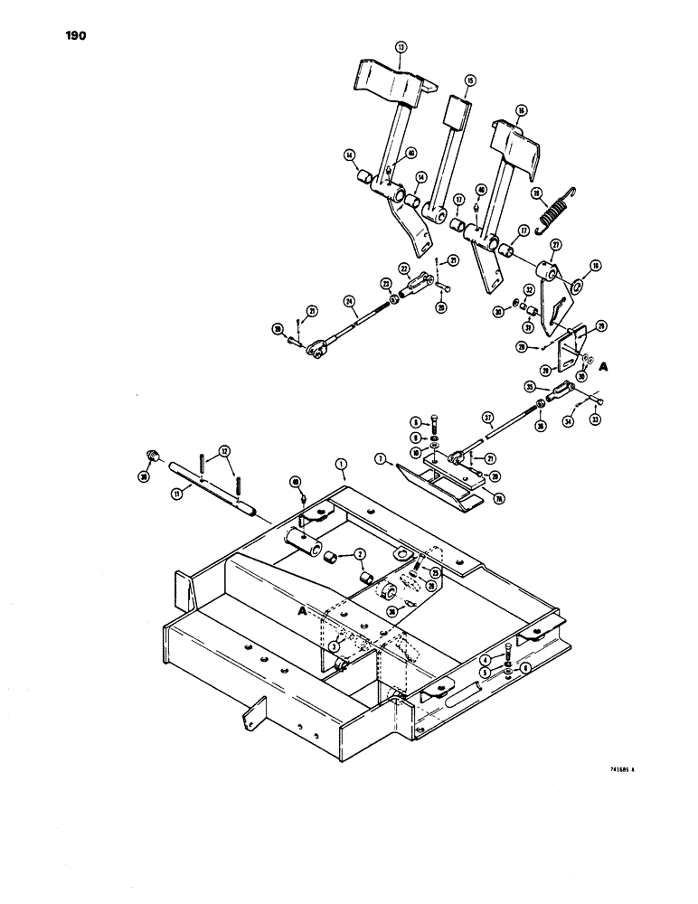
1

R28612

FRAME

- brake mounting, use R38100 frame and R33694 follower, Includes: Ref. 2 and 3

1шт.

1

R38100

FRAME

- brake mounting, Includes: Ref. 2 and 3

1шт.

2

R29752

BUSHING

- pedal shaft

2шт.

3

R27466

BUSHING

- follower camshaft

2шт.

4

13-820

BOLT,Hex, 1/2" - 13 x 1-1/4", Gr 5, Full Thd

4шт.

5

92-8

LOCK WASHER,1/2"

4шт.

6

195-33

WASHER,1/2"

- flat, 1/2"

4шт.

7

R28561

PLATE

STOP - brake pedals

1шт.

7a

R36511

BLOCK

- pedal stop

1шт.

8

13-832

BOLT,Hex, 1/2" - 13 x 2", Gr 5

HHCS - 1/2" - 13 NC x 2-1/4"

2шт.

9

92-8

LOCK WASHER,1/2"

2шт.

10

195-33

WASHER,1/2"

- flat, 1/2"

2шт.

11

R32494

SHAFT

- brake

1шт.

12

138-137

LOCK PIN,1/4" x 1 3/8", Slotted

PIN, 1/4" x 1 3/8", Slotted

2шт.

13

R28641

PEDAL

- brake, LH, Includes: Ref. 14

1шт.

14

R29752

BUSHING

- pedal

2шт.

15

R28643

PEDAL

- modulator

1шт.

16

R28635

PEDAL

- brake, RH, Includes: Ref. 17

1шт.

17

R29752

BUSHING

- brake

2шт.

18

D35268

SHIM,1/32" Thk

1шт.

19

R29843

SPRING

- pedal return

2шт.

20

141-3

CLEVIS PIN,5/16" x .940"

PIN, CLEVIS, 5/16" x .940"

5шт.

21

132-26

COTTER PIN

Pin, Split (Cotter), 3/32" x 3/4"

5шт.

22

213-3

ADJUSTABLE CLEVIS,5/16"-24

CLEVIS - rod end

2шт.

23

25-115

NUT,5/16"-24, G5

- hex, lock, 5/16"-24 NF

2шт.

24

R31416

ROD

- brake control, before tractor sn 8379501

2шт.

24

R36500

ROD

- brake control, tractor sn 8379501 and after, 30.23" Long

2шт.

25

13-828

BOLT,Hex, 1/2" - 13 x 1-3/4", Gr 5

HHCS - 1/2" - 13 NC x 1-3/4"

1шт.

26

25-108

NUT,1/2"-13, G5

- hex, 1/2" - 13 NC

1шт.

27

R27491

CAM

- modulator

1шт.

28

R33694

BRACKET

FOLLOWER - cam

1шт.

29

132-26

COTTER PIN

Pin, Split (Cotter), 3/32" x 3/4"

2шт.

30

195-25

WASHER,3/8"

- flat, 3/8"

3шт.

31

R27497

COLLAR

BOSS - cam, Includes: Ref. 32

1шт.

32

R27466

BUSHING

- boss

1шт.

33

141-2

CLEVIS PIN,1/4" x .770"

PIN - clevis

1шт.

34

132-5

COTTER PIN,1/16" x 1/2"

Pin, Split (Cotter), 1/16" x 1/2"

1шт.

35

213-2

ADJUSTABLE CLEVIS,1/4"-28 x 2"

CLEVIS - rod end, adjustable

1шт.

36

25-114

NUT,1/4"-28, G5

- hex, lock, 1/4" - 28 NF

1шт.

37

R31417

ROD

- modulator control, before tractor sn 8379501

1шт.

37

R36501

ROD

- modulator control, tractor sn 8379501 and after, 27.56" Long

1шт.

38

219-36

LUBE NIPPLE,45 Degree Elbow, 1/8" - 27 NPTF

FITTING - 45deg., grease, 1/8" NPT

1шт.

39

221-845

PLUG,Hex Soc, 3/4"-14

- hex, socket head, 3/4"

1шт.

40

219-4

LUBE NIPPLE,1/8" - 27 NPTF

FITTING - straight, grease, 1/8" NPT

3шт.

Выбрано товаров: 44