Запчасти Case 1450 (378) - FLOOR PLATES (09) - CHASSIS/ATTACHMENTS

Схема запчастей Case 1450 - (378) - FLOOR PLATES (09) - CHASSIS/ATTACHMENTS
FIT
1:1
100%

Артикул

Название

Примечание

Количество

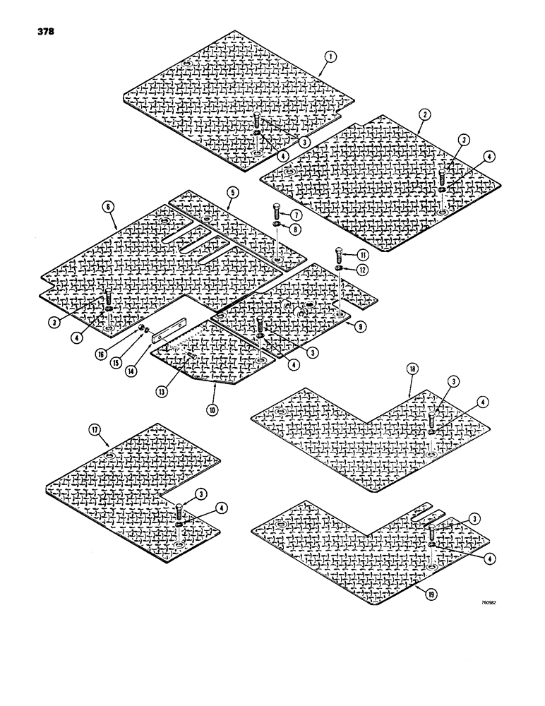
1

R29563

PLATE - floor, LH, outer, dozer model

1шт.

2

R28564

PLATE

- floor, RH, outer, dozer model

1шт.

3

13-816

BOLT,Hex, 1/2" - 13 x 1", Gr 5, Full Thd

4шт.

4

92-8

LOCK WASHER,1/2"

4шт.

5

R28554

PLATE

- floor, center, LH front

1шт.

6

R28555

PLATE

- floor, center, LH rear

1шт.

7

13-816

BOLT,Hex, 1/2" - 13 x 1", Gr 5, Full Thd

4шт.

8

92-8

LOCK WASHER,1/2"

4шт.

9

R28556

PLATE

- floor, center, RH front

1шт.

10

R34213

PLATE

- floor, center, RH rear

1шт.

11

13-816

BOLT,Hex, 1/2" - 13 x 1", Gr 5, Full Thd

3шт.

12

92-8

LOCK WASHER,1/2"

3шт.

13

13-516

BOLT,Hex, 5/16" - 18 x 1", Gr 5

2шт.

14

R28562

SPACER - plate

1шт.

15

92-5

LOCK WASHER,5/16"

2шт.

16

9635082

NUT,5/16" - 18, Gr 5

- hex, 5/16" - 18 NC

2шт.

17

R28565

PLATE

- floor, LH, outer, loader model

1шт.

18

R28566

PLATE

- floor, RH, outer, loader model

1шт.

19

R29413

PLATE

- floor, RH, outer, 4-in-1 bucket model

1шт.

Выбрано товаров: 19