Запчасти Case 1450 (394) - ROLL-OVER PROTECTION SIDE SCREENS AND EXTENSION, USED TRAC SN 8380422 & AFT (09) - CHASSIS/ATTACHMENTS

Схема запчастей Case 1450 - (394) - ROLL-OVER PROTECTION SIDE SCREENS AND EXTENSION, USED TRAC SN 8380422 & AFT (09) - CHASSIS/ATTACHMENTS
FIT
1:1
100%

Артикул

Название

Примечание

Количество

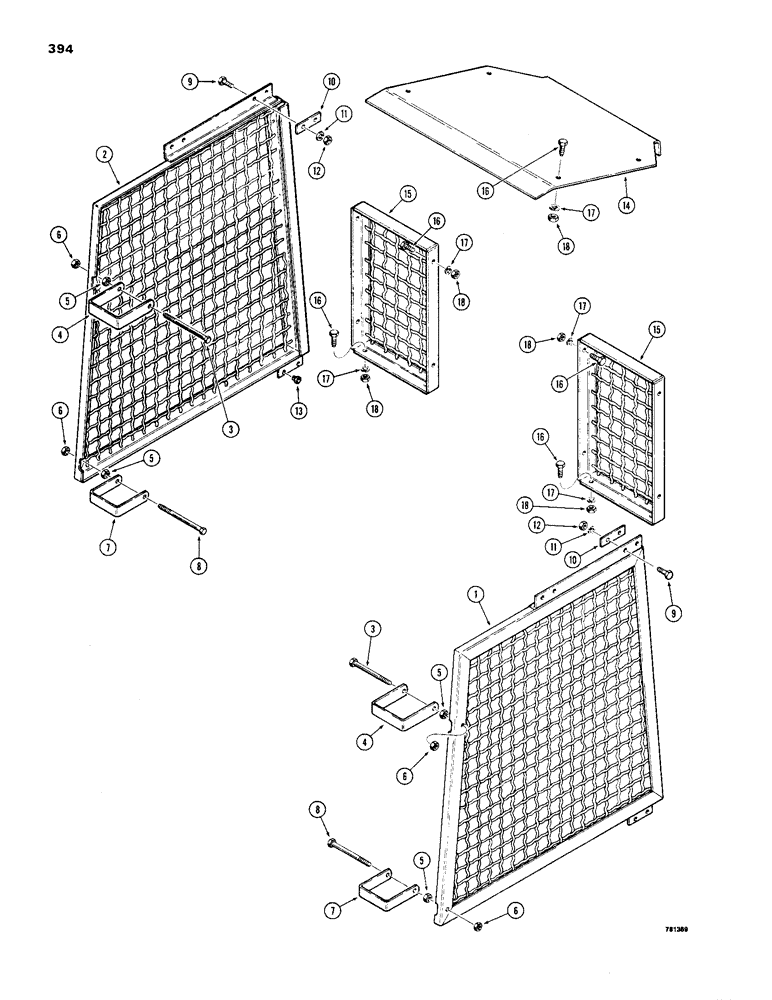
1

R41012

SCREEN

- RH side

1шт.

2

R41013

SCREEN

- LH side

1шт.

3

113-423

BOLT,Hex, 1/2" - 13 x 7", Gr 5

HHCS - 1/2" - 13 NC x 7", plated

2шт.

4

F43766

SUPPORT

CLAMP

2шт.

5

129-105

NUT,Hex, 1/2" - 13, Gr 5

4шт.

6

131-1308

JAM NUT,Jam, 1/2"-13

NUT - hex, self lock, 1/2" - 13 NC, plated

4шт.

7

F43767

SUPPORT

CLAMP

2шт.

8

113-443

BOLT,Hex, 1/2" - 13 x 6-1/2", Gr 5

2шт.

9

113-417

BOLT,Hex, 1/2" - 13 x 1-1/4", Gr 5, Full Thd

8шт.

10

F44446

NOZZLE HOLDER

CLAMP

4шт.

11

80679

LOCK WASHER,1/20.507 CST ZND

WASHER, LOCK, 1/2"

8шт.

12

129-105

NUT,Hex, 1/2" - 13, Gr 5

8шт.

13

R38089

CUSHION ASSY.

CUSHION - rubber

4шт.

14

R41019

COVER

CANOPY EXTENSION - dozer only

1шт.

15

R41020

SCREEN

- front, dozer only

2шт.

16

113-417

BOLT,Hex, 1/2" - 13 x 1-1/4", Gr 5, Full Thd

16шт.

17

192-23

LOCK WASHER,1/2"

WASHER, LOCK, 1/2"

16шт.

18

129-105

NUT,Hex, 1/2" - 13, Gr 5

16шт.

Выбрано товаров: 18