Запчасти Case 1450 (024) - VALVE MECHANISM, 504BDT DIESEL ENGINE (02) - ENGINE

Схема запчастей Case 1450 - (024) - VALVE MECHANISM, 504BDT DIESEL ENGINE (02) - ENGINE
FIT
1:1
100%

Артикул

Название

Примечание

Количество

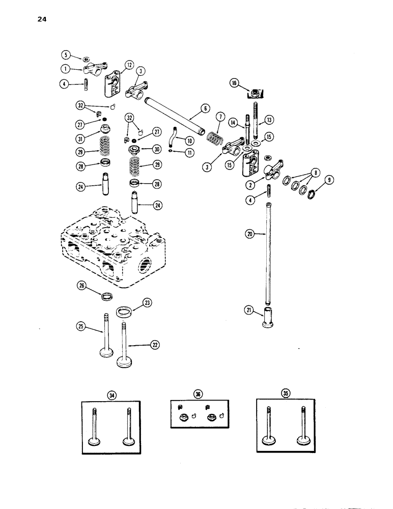
1

A148137

ROCKER ARM

ARM ASSY. - rocker, exhaust valve (1st, 3rd & 5th cyl.) (Rpl. A58655), Includes: Ref. 4 and 5

3шт.

2

A148138

ARM

ASSY. - rocker, exhaust valve (2nd, 4th & 6th cyl.) (Rpl. A58656), Includes: Ref. 4 and 5

3шт.

3

A148136

ARM

ASSY. - rocker, intake valve (Replaces A58654), Includes: Ref. 4 and 5

6шт.

4

A21105

ADJUSTMENT SCREW,3/8" - 24 x 1 9/16"

SCREW - rocker arm

1шт.

5

25-156

JAM NUT,Jam, 3/8"-24, G5

- 3/8" N.F. hex., jam

1шт.

6

A57532

SHAFT

- rocker arm

3шт.

7

A27877

SPRING

- rocker arm shaft

3шт.

8

A27878

WASHER

- rocker arm shaft (7/8 x 1-5/16 x 1/32")

1шт.

9

B18206

SNAP RING,#87, Ext

Ring, Snap, , rocker shaft #87, Ext

6шт.

10

A58657

TUBE

- oil, rocker arm shaft

3шт.

11

A27880

O-RING,0.07" Thk x 0.18" ID, -8, Cl 5, 75 Duro

- oil tube (3/16 x 5/16 x 1/16")

3шт.

12

A61128

BRACKET

- rocker shaft

6шт.

13

A58659

STUD

- bracket (7/16 N.C. x 4-5/16")

6шт.

14

A67121

STUD

- bracket (7/16" N.C. x 6")

6шт.

15

195-29

WASHER,7/16"

- bracket studs (1/2 x 15/16 x 1/16")

12шт.

16

25-107

NUT,7/16"-14, G5

- 7/16" N.C. hex.

6шт.

20

A141841

ROD

ASSY. - push (Replaces A58596)

12шт.

21

A20865

TAPPET

LIFTER - push rods (Standard)

12шт.

21

A21857

TAPPET

LIFTER - push rods (.010" oversize)

12шт.

22

NSS

NOT SOLD SEPARAT

VALVE - exhaust (Order Ref. 34)

6шт.

23

A66192

INSERT

- exhaust valve seat

6шт.

24

A41783

GUIDE

- intake & exhaust valves

12шт.

25

NSS

NOT SOLD SEPARAT

VALVE - intake (Order Ref. 35)

6шт.

26

A60557

INSERT

- intake valve seat

6шт.

27

A58628

SEAL,8mm ID x 13.77mm OD x 2.16mm Thk

- valve stem

12шт.

28

A66328

SEAT

- intake & exhaust valve springs (Replaces A58623)

12шт.

29

A66444

SPRING

- intake & exhaust valves

12шт.

30

A66336

ROTATOR

ROTO-CAP - exhaust valve

6шт.

31

NSS

NOT SOLD SEPARAT

RETAINER - intake valve (Order Ref. 36)

6шт.

32

A27872

LOCK

- valve spring retainers

24шт.

34

A41753

VALVE

KIT - exhaust (Set of 2)

3шт.

35

A41754

VALVE

KIT - intake (Set of 2)

3шт.

36

A44645

KIT

RETAINER KIT - intake valves (Set of 2 ret. & 4 locks) (Replaces A21657)

3шт.

Выбрано товаров: 33