Запчасти Case 1455B (7-298) - PARKING BRAKES - MANUAL (07) - BRAKES

Схема запчастей Case 1455B - (7-298) - PARKING BRAKES - MANUAL (07) - BRAKES
FIT
1:1
100%

Артикул

Название

Примечание

Количество

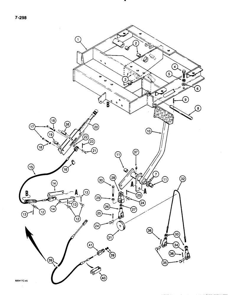
1

R49009

FRAME

- brake mounting, Includes: Ref. 2 and 3

1шт.

2

R29752

BUSHING

- pedal shaft

2шт.

3

R27466

BUSHING

- follower cam shaft

2шт.

4

113-417

BOLT,Hex, 1/2" - 13 x 1-1/4", Gr 5, Full Thd

4шт.

5

192-23

LOCK WASHER,1/2"

WASHER, LOCK, 1/2"

4шт.

6

195-533

WASHER,1/2", SAE

- flat, 1/2", plated

4шт.

7

D35268

SHIM,1/32" Thk

(0.762 mm) 1/32" Thk

1шт.

8

R28661

SHAFT

- pedal

1шт.

9

138-137

LOCK PIN,1/4" x 1 3/8", Slotted

PIN, 1/4" x 1 3/8", Slotted

1шт.

10

R28649

PEDAL

- manual brake, Includes: Ref. 11

1шт.

11

R29752

BUSHING

- pedal

2шт.

12

141-60

CLEVIS PIN,5/16" x 1 1/8"

- 5/16" x 1-1/4"

3шт.

13

132-320

COTTER PIN,3/32" x 3/4"

PIN, SPLIT (COTTER), 3/32" x 3/4"

3шт.

14

R28660

BAR

LINK - brake

2шт.

15

R35061

CABLE

- brake, hand, includes clevis ends, no longer used, order refs. 39 - 41

1шт.

16

D40684

CLAMP,12.7mm ID, 8.78mm Bolt Hole, P Type

- cable

1шт.

17

26-524

BOLT,Hex, 5/16" - 18 x 1-1/2", Gr 8

- hex head, 5/16"-18 NC x 1-1/2", grade 8

2шт.

18

192-20

LOCK WASHER,Helical Spring, 0.318" ID, CST, ZND

WASHER, LOCK, 5/16"

2шт.

19

D30863

TUBE

SPACER - lever

1шт.

D40687

LEVER

ASSEMBLY - parking brake, Includes: Ref. 20 - 23

1шт.

20

NSS

NOT SOLD SEPARAT

LEVER - brake

1шт.

21

D42458

PIN

CLEVIS PIN - lever

1шт.

22

195-103

WASHER,5/16"

- flat, , plated 5/16"

1шт.

23

132-320

COTTER PIN,3/32" x 3/4"

PIN, SPLIT (COTTER), 3/32" x 3/4"

1шт.

24

141-54

CLEVIS PIN,3/8" x 1 1/16"

2шт.

25

132-320

COTTER PIN,3/32" x 3/4"

PIN, SPLIT (COTTER), 3/32" x 3/4"

2шт.

26

213-41

ADJUSTABLE CLEVIS,3/8"-24

plated, at cable pulley, may replace fiberglass clevis 3/8"-24

1шт.

27

129-130

NUT,1"-14, G5

- hex, 3/8" - 24 NF, plated

1шт.

28

R29412

CLEVIS

- at brake levers

1шт.

29

195-525

WASHER,3/8", SAE

- flat, 3/8", plated

1шт.

30

114-216

BOLT,Hex, 3/8" - 24 x 2", Gr 5

- hex head, 3/8" - 24 NF x 2", plated

1шт.

31

A166792

SHEAVE

PULLEY - cable

1шт.

32

R28662

CABLE

- parking brake, 33" (838 mm) long, use on 1450B loader models only

1шт.

32

R43696

CABLE PULLING GRIP

CABLE - parking brake, 30" (762 mm) long, use on dozer models and on 1455B loader models

1шт.

33

129-129

NUT,7/8"-14, G5

- hex, 1/4" - 28 NF, plated

2шт.

34

213-2

ADJUSTABLE CLEVIS,1/4"-28 x 2"

CLEVIS - 1/4" - 28 NF, steel, may replace fiberglass clevis

2шт.

35

141-52

CLEVIS PIN,1/4" x .770"

- 1/4", plated

2шт.

36

132-5

COTTER PIN,1/16" x 1/2"

Pin, Split (Cotter), 1/16" x 1/2"

2шт.

37

219-1

LUBE NIPPLE,1/8" - 27 NPTF

GREASE FITTING - straight, 1/8" NPT

1шт.

38

D40685

SPACER

- lever

1шт.

39

R52020

CABLE

- brake, hand without clevis ends

1шт.

40

R51774

CLEVIS

- attaches to brake mounting frame

1шт.

41

R52026

CLEVIS

- attaches to brake foot pedal linkage

1шт.

Выбрано товаров: 43