Запчасти Case 1650M XLT BD (10.400.040) - RADIATOR & RELATED PARTS (10) - ENGINE

Схема запчастей Case 1650M XLT BD - (10.400.040) - RADIATOR & RELATED PARTS (10) - ENGINE
9
22
5
8
18
3
6
2
19
9
11
18
7
4
15
21
13
17
10
17
1
4
20
23
16
17
17
14
6
12
FIT
1:1
100%

Артикул

Название

Примечание

Количество

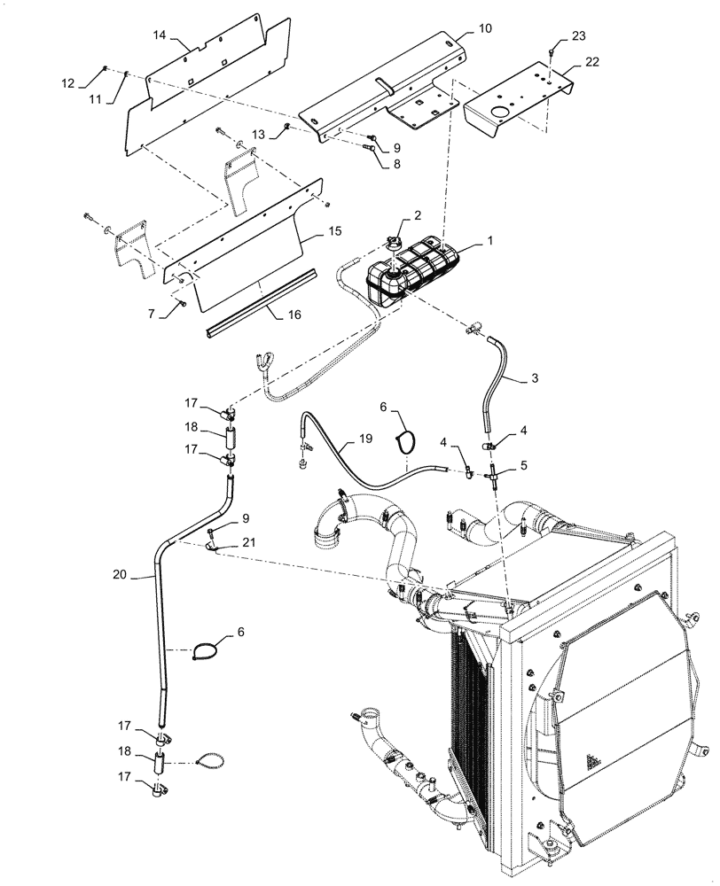
1

82019588

RESERVOIR

Degas

1шт.

2

82022744

CAP,Female, Vented, Non-Locking

Degas Reservoir

1шт.

3

47376044

HOSE,9.5mm ID x 418mm L

Degas Reservoir to Tee

1шт.

4

574518

HOSE CLAMP,6.3mm - 15.7mm, SAE # 4

4шт.

5

84207344

TEE

1шт.

6

86566990

CABLE TIE,292mm OAL x 4.8mm W

6шт.

7

16043221

BOLT,Hex, M8 x 16mm, Cl 8.8, Full Thd

4шт.

8

614-10040

BOLT,Hex, M10 x 1.5 x 40mm, Cl 8.8, Full Thd

2шт.

9

9671714

FLANGE BOLT,Hex, M8 x 1.25 x 25mm, Cl 8.8

5шт.

10

84591196

BRACKET

Degas Reservoir, Mounting

1шт.

11

87655042

SPECIAL WASHER,8.8mm ID x 17.5mm OD x 2.2mm Thk

4шт.

12

825-1408

NUT,M8, Cl 8

4шт.

13

8475948

NUT,M10 x 1.5, Cl 8

2шт.

14

84592707

BAFFLE

Middle

1шт.

15

48061777

Lower

BAFFLE

1шт.

16

47427162

SEAL

1шт.

17

86625021

HOSE CLAMP,17.5mm - 31.7mm, Worm Gear

4шт.

18

84540654

RADIATOR HOSE,19mm ID x 76mm L

4шт.

19

84570289

RADIATOR HOSE,6.35mm ID x 1212mm L

1шт.

20

84591224

TUBE,19mm ID x 1248mm L

Lower Radiator Plumbing to Degas Reservoir

1шт.

21

86624005

CLAMP,19mm, Coat, 10.3mm Bolt Hole, P Type

1шт.

22

48054340

Degas Bottle

COVER

1шт.

23

86511842

BOLT,M8 x 1.25 x 48.1mm OAL, Cl 8.8

4шт.

Выбрано товаров: 23