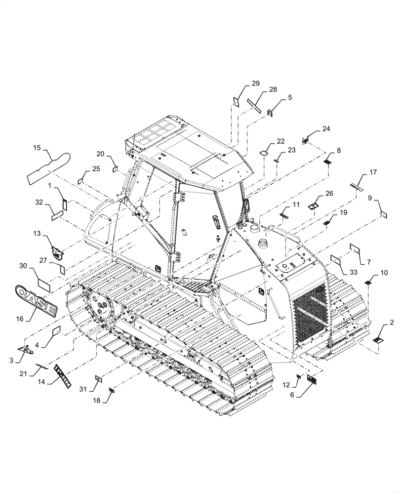
Запчасти Case 1650M XLT PAT (90.108.010) - VAR - 784138 - DECALS ENGLISH, (90) - PLATFORM, CAB, BODYWORK AND DECALS

Схема запчастей Case 1650M XLT PAT - (90.108.010) - VAR - 784138 - DECALS ENGLISH, (90) - PLATFORM, CAB, BODYWORK AND DECALS
30
19
11
18
27
6
17
3
33
12
5
13
21
25
15
20
4
32
8
22
31
9
26
1
14
2
23
7
16
10
28
24
29
FIT
1:1
100%

Артикул

Название

Примечание

Количество

1

321-7030

WARNING DECAL

Do Not Jump

1шт.

2

321-7040

DANGER DECAL

Engine Start

1шт.

3

47426856

DECAL

Blade and Ripper Control

1шт.

4

47449566

DECAL,78mm x 58mm H

Brake, Decelerator

1шт.

5

47458056

DECAL

Master Disconnect

2шт.

6

47543424

DANGER DECAL

Runover Hazard

1шт.

7

47676335

NAMEPLATE,83mm x 38mm H

P.I.N. Case Logo, 4mm Hole, USA

1шт.

8

47728994

DECAL

Warning, Ether

1шт.

9

47739196

WARNING DECAL,80mm x 50mm H

Fan Hazard

2шт.

10

47757330

DECAL,50mm x 50mm H

Coolant Warning

1шт.

11

84242780

WARNING DECAL

High Pressure, Fuel System

2шт.

12

84394350

WARNING DECAL

Pinch Point

2шт.

13

84468362

DECAL,194mm x 170mm H

Case Eagle Logo

2шт.

14

84468406

DECAL

1650M Model Logo

1шт.

15

84468413

DECAL,1054mm x 268mm H

Case Logo

2шт.

16

84495419

DECAL,834mm x 212mm H

Case Impact Logo

2шт.

17

84499780

DECAL,130mm x 80mm H

Track Adjustment

1шт.

18

84558035

DECAL,70mm x 58mm H

Filter, Case

2шт.

19

84558036

DECAL,66mm x 33mm H

Engine Medallion

1шт.

20

85804338

DECAL,50mm x 50mm H

Fuel Type

2шт.

21

87416964

DECAL,110mm x 85mm H

Improper Lifting and Tie Down

1шт.

22

87422184

DECAL,57mm x 69mm H

Forward, Netural, Reverse

1шт.

23

87422188

DECAL,16.5mm x 55mm H

Throttle

1шт.

24

87601526

DECAL,35mm x 40mm H

12 Volt Power Outlet

1шт.

25

87726702

DECAL,50mm x 50mm H

Case, Hyd Oil

1шт.

26

329044A1

WARNING DECAL,168mm x 88mm H

Radiator Cap

1шт.

27

382622A1

DECAL,60mm x 90mm H

General Operation

1шт.

28

383972A1

WARNING DECAL,195mm x 37mm H

ROPS and FOPS No Modify

1шт.

29

383973A1

DECAL,60mm x 100mm H

Jumpstart Warning

1шт.

30

384260A1

WARNING DECAL,168mm x 88mm H

Accumulator in System Warning

1шт.

31

418242A3

WARNING DECAL,168mm x 88mm H

Hot Surface, Muffler

3шт.

32

449842A1

REFLECTOR,160mm x 50.8mm H - Red

Strip

2шт.

33

T41159

TAPE,82mm x 35mm H

Foam, White

1шт.

Выбрано товаров: 33