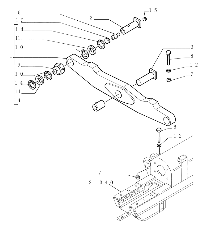
Запчасти Case 1850K (2.345[01]) - SUSPENSION - VERSION (01-02) (04) - UNDERCARRIAGE

Схема запчастей Case 1850K - (2.345[01]) - SUSPENSION - VERSION (01-02) (04) - UNDERCARRIAGE
14
1
3
1
7
9
13
5
4
7
15
2.340
12
10
1
2
8
1
1
10
14
12
6
FIT
1:1
100%

Артикул

Название

Примечание

Количество

1

76090568

CROSSRAIL

Assy

1шт.

2

76080604

PIN

2шт.

3

76040890

PIN,70mm OD x 290mm L

1шт.

4

76040889

BUSHING

1шт.

5

13407211

LUBE NIPPLE,M10 x 1

2шт.

6

11115231

BOLT,Hex, M12 x 150, 10.9

2шт.

7

12577521

NUT,M12 x 1.75

3шт.

8

11115031

BOLT,Hex, M12 x 140, 10.9

3шт.

9

76041311

SPHERICAL BEARING,60mm ID x 90mm OD x 44mm W

2шт.

10

11062476

SNAP RING,M90, Int

4шт.

11

84226857

SEAL

4шт.

12

14496731

WASHER,M12 x 24 x 2.5 Thk

5шт.

13

79089646

PLUG,M22 x 1.5

2шт.

14

11075576

RING

M112

4шт.

15

70926224

LUBE NIPPLE

2шт.

Выбрано товаров: 15