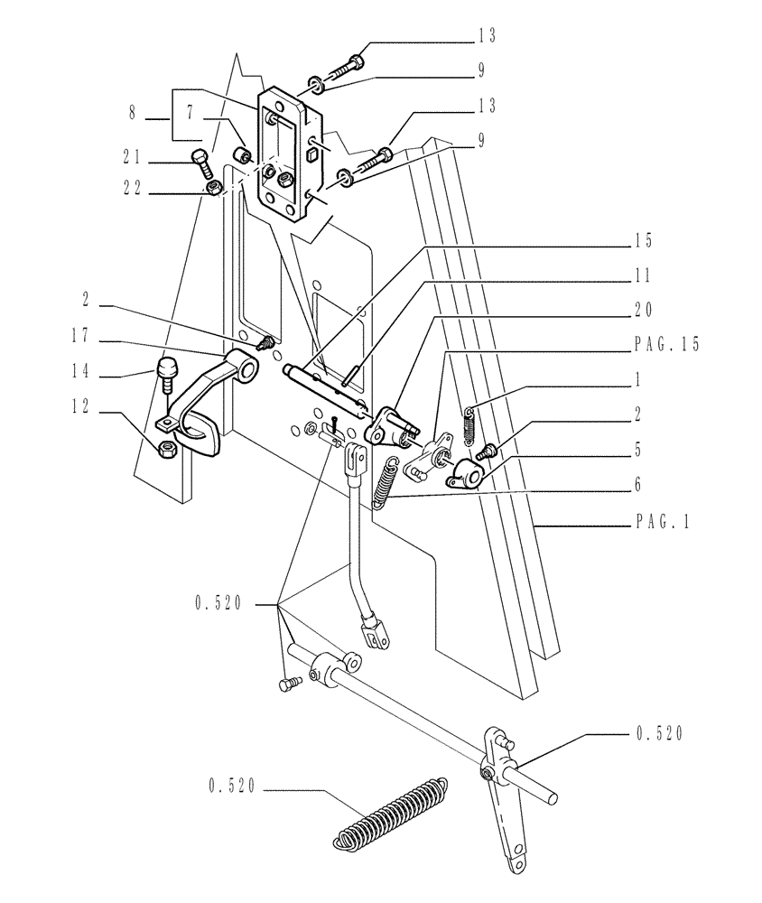
Запчасти Case 1850K (9.651[16]) - ROPS CANOPY - COMPONENTS - OPTIONAL CODE 784111131 (19) - OPTIONS

Схема запчастей Case 1850K - (9.651[16]) - ROPS CANOPY - COMPONENTS - OPTIONAL CODE 784111131 (19) - OPTIONS
2
9
2
8
6
14
13
pag.15
0.520
15
13
1
9
0.520
12
20
7
21
1
17
pag.1
5
1
0.520
22
FIT
1:1
100%

Артикул

Название

Примечание

Количество

1

547515

SPRING

1шт.

2

569475

SCREW

4шт.

5

79089244

LEVER

1шт.

6

79093725

SPRING

1шт.

7

79060774

BUSHING

2шт.

8

76046977

SUPPORT

Assy

1шт.

9

14496631

WASHER,10.5mm ID x 21mm OD x 2mm Thk

8шт.

11

14604270

LOCK PIN,M6 x 32, Slotted

1шт.

12

11701714

NUT

M10 x 1.5

1шт.

13

11106031

BOLT,Hex, M10 x 1.5 x 20mm, Cl 10.9

3шт.

14

14420631

HEX SOC SCREW,M10 x 1.5 x 50mm, Cl 10.9

1шт.

15

79078966

SHAFT

1шт.

17

76054843

PEDAL

1шт.

20

79080389

IDLER LEVER

1шт.

21

79086637

SCREW,Rd Slotted, M8 x 1.25 x 32mm L

1шт.

22

16100814

NUT,M8, Cl 8, DAC

1шт.

Выбрано товаров: 0