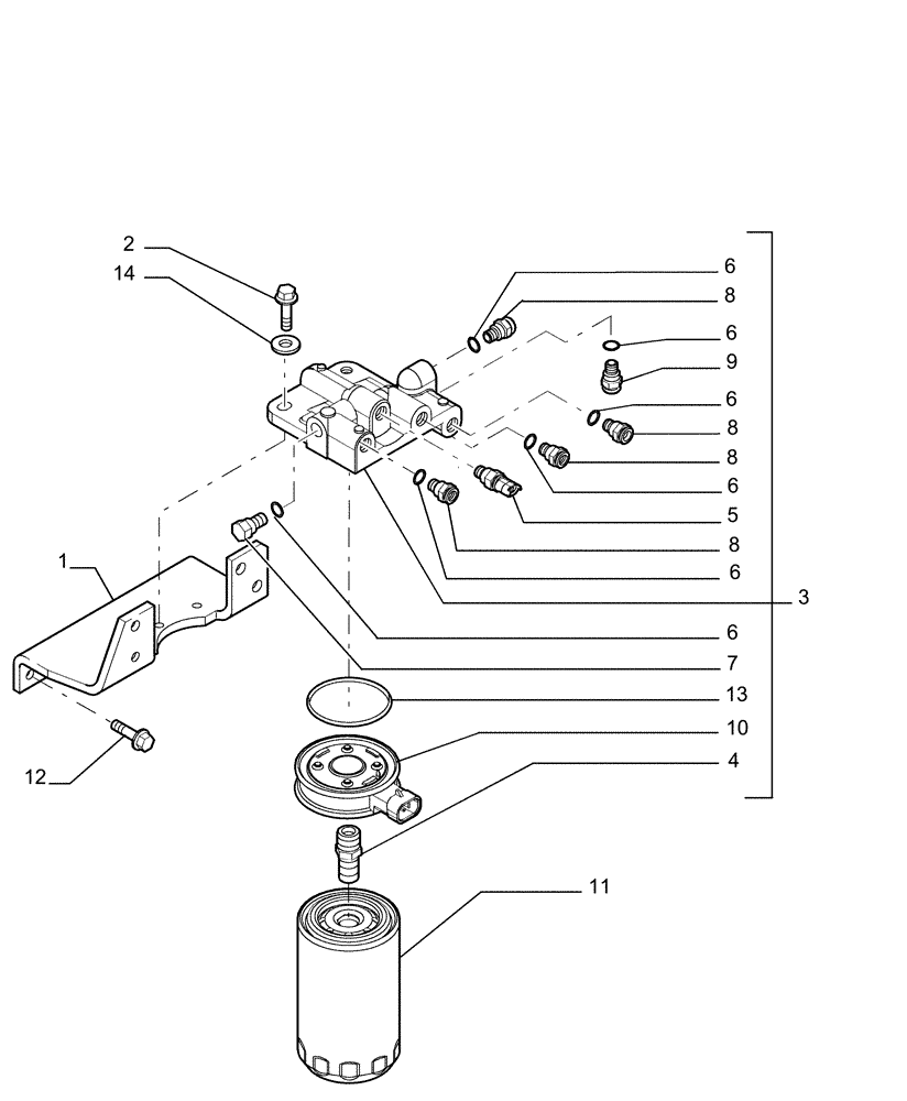
Запчасти Case 1850K (0.200[01]) - FUEL FILTER - COMPONENTS (01) - ENGINE

Схема запчастей Case 1850K - (0.200[01]) - FUEL FILTER - COMPONENTS (01) - ENGINE
12
13
8
6
10
9
6
2
6
4
3
8
8
11
6
6
5
8
6
7
1
14
FIT
1:1
100%

Артикул

Название

Примечание

Количество

1

2852793

BRACKET

1шт.

2

2830733

SCREW

M8 x 25

2шт.

3

2852436

FILTER HEAD

1шт.

4

4898758

ADAPTER

1шт.

5

4897224

SENSOR

Temperature

1шт.

6

4894721

SEALING WASHER,12.2mm ID x 17mm OD x 1.5mm Thk

6шт.

7

4893464

PLUG

1шт.

8

4890964

FITTING,M12 x 1.5

4шт.

9

4896543

FITTING

1шт.

10

4897838

HEATER

1шт.

11

87803200

FUEL FILTER

Case Brand

1шт.

12

2852791

SCREW

4шт.

13

4898876

O-RING,63.1mm ID x 3.53mm Width

1шт.

14

12647104

WASHER,8.15mm ID x 20mm OD x 3mm Thk

2шт.

Выбрано товаров: 14