Запчасти Case 1850K (0.550[01]) - ENGINE COOLING SYSTEM - WATER RADIATOR (01) - ENGINE

Схема запчастей Case 1850K - (0.550[01]) - ENGINE COOLING SYSTEM - WATER RADIATOR (01) - ENGINE
14
16
1
10
14
1
5
25
24
17
23
12
15
22
6
11
23
21
28
16
14
13
20
1
10
2
19
15
17
27
18
4
7
FIT
1:1
100%

Артикул

Название

Примечание

Количество

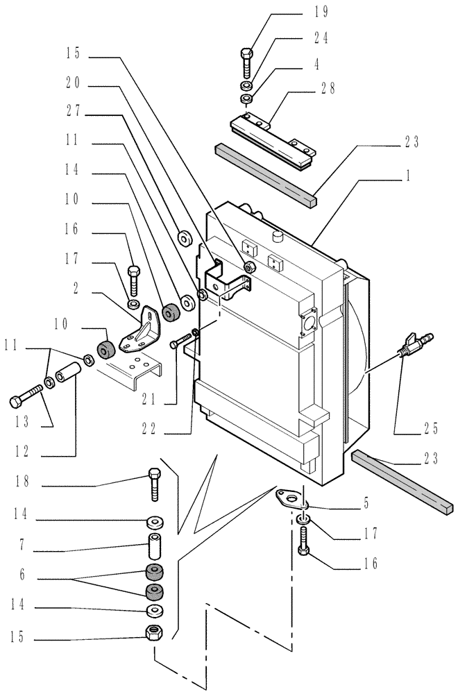
1

87358149

RADIATOR

- SEE PAG.5

1шт.

2

76046711

BRACKET

1шт.

4

14496531

WASHER,8.4mm ID x 17mm OD x 1.6mm Thk

4шт.

5

76046751

PLATE

2шт.

6

76069292

ISOLATOR

4шт.

7

79016738

SPACER

2шт.

10

4977098

ISOLATOR

2шт.

11

4977099

WASHER

1шт.

12

4977100

SPACER

1шт.

13

11113831

SCREW,Hex, M12 x 80mm, Cl 10.9

1шт.

14

12648531

WASHER,12.2mm ID x 28mm OD x 4mm Thk

5шт.

15

12577521

NUT,M12 x 1.75

3шт.

16

11106431

SCREW,Hex, M10 x 1.5 x 30mm, Cl 10.9, Full Thd

7шт.

17

12626231

WASHER,10.2mm ID x 25mm OD x 3mm Thk

6шт.

18

11114031

BOLT,Hex, M12 x 90, 10.9

2шт.

19

16043431

SCREW,Hex, M8 x 1.25 x 20mm, Cl 10.9, Full Thd

4шт.

20

87358406

BRACKET

1шт.

21

11106231

BOLT,Hex, M10 x 1.5 x 25mm, Cl 10.9

4шт.

22

14496631

WASHER,10.5mm ID x 21mm OD x 2mm Thk

4шт.

23

87385059

SEAL

2шт.

24

10615679

LOCK WASHER,Ext Tooth, M8

4шт.

25

76014887

DRAINCOCK/TAP SUPPLY,3/8"

1шт.

27

71306502

WASHER

1шт.

28

76069778

SUPPORT

1шт.

Выбрано товаров: 24