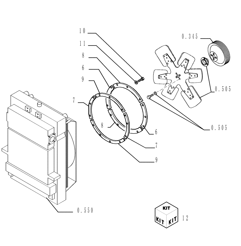
Запчасти Case 1850K (0.550[02]) - ENGINE COOLING SYSTEM - RADIATOR SEALS (01) - ENGINE

Схема запчастей Case 1850K - (0.550[02]) - ENGINE COOLING SYSTEM - RADIATOR SEALS (01) - ENGINE
7
10
11
0.550
0.505
0.505
0.345
12
8
6
6
8
7
9
9
FIT
1:1
100%

Артикул

Название

Примечание

Количество

6

76072152

SEALING STRIP

2шт.

7

87571358

SEALING STRIP

2шт.

8

76072154

SEALING STRIP

2шт.

9

87571401

SEALING STRIP

2шт.

10

16043431

SCREW,Hex, M8 x 1.25 x 20mm, Cl 10.9, Full Thd

16шт.

11

12645031

WASHER,8.45mm ID x 21mm OD x 3mm Thk

16шт.

12

76072166

KIT

Seal Strips

1шт.

Выбрано товаров: 7