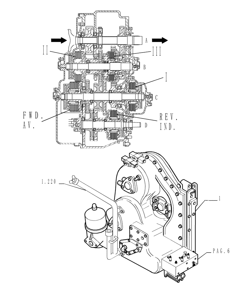
Запчасти Case 1850K (1.211[01]) - TRANSMISSION - ASSY Hydrostatic Transmission

Схема запчастей Case 1850K - (1.211[01]) - TRANSMISSION - ASSY Hydrostatic Transmission
ind.
fwd.
iii
i
av.
b
rev.
c
a
pag.6
1.220
ii
1
d
FIT
1:1
100%

Артикул

Название

Примечание

Количество

1

87389727

TRANSMISSION

Assy - See Pg. 2-24 - Only Separate parts are supplied

1шт.

1

87389727R

REMAN-TRANSMISSION

1шт.

1

87389727C

CORE-TRANSMISSION

Return Number

1шт.

Выбрано товаров: 3