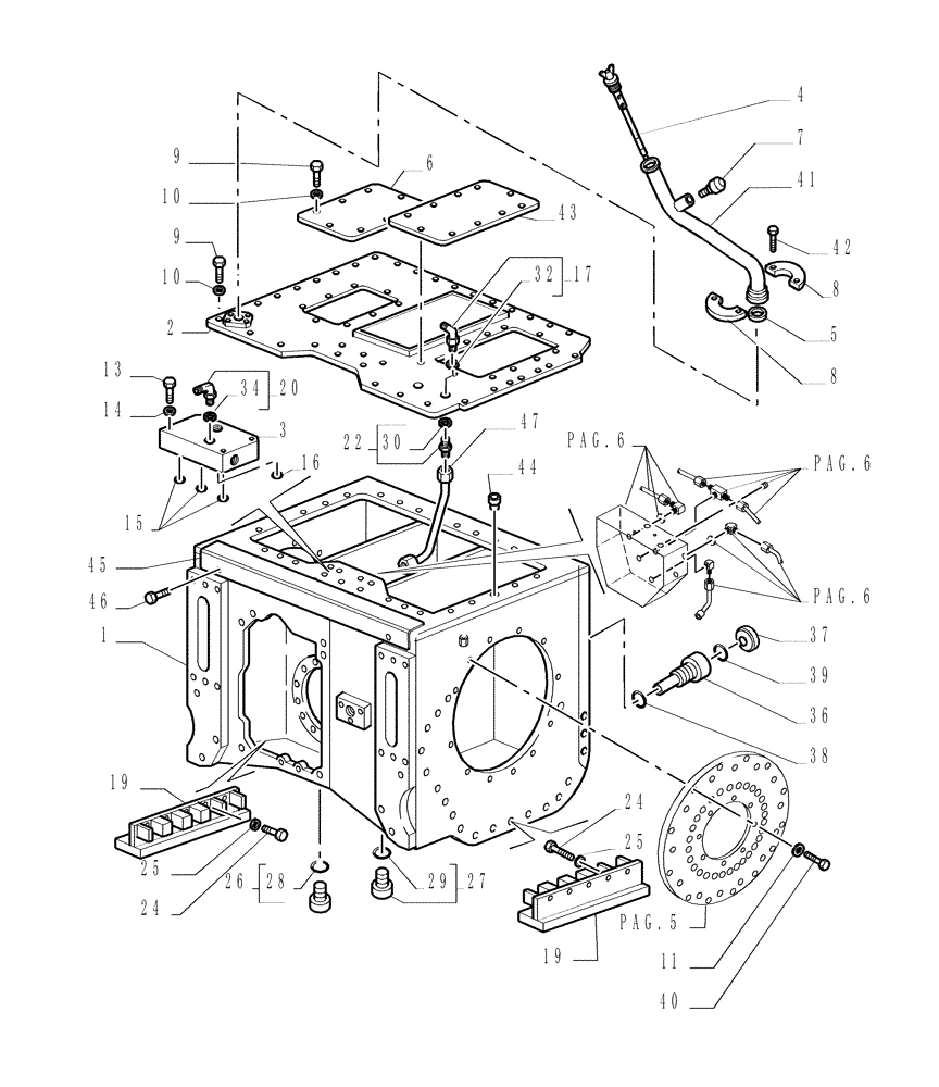
Запчасти Case 1850K (1.266[01]) - REAR TRANSMISSION - CASE Hydrostatic Transmission

Схема запчастей Case 1850K - (1.266[01]) - REAR TRANSMISSION - CASE Hydrostatic Transmission
32
9
20
24
4
36
30
10
41
9
34
22
14
5
7
37
45
13
8
46
39
29
10
42
3
24
8
16
19
43
15
17
28
pag.6
pag.5
pag.6
pag.6
1
1
25
2
19
40
44
27
26
6
47
25
1
38
FIT
1:1
100%

Артикул

Название

Примечание

Количество

1

76040610

TRANSMISSION HOUSING

Assy

1шт.

2

76040723

COVER

1шт.

3

76046838

FLOW DIVIDER

1шт.

4

87576970

DIPSTICK

1шт.

5

70924200

O-RING

M32.92 ID x 3.53 Thk

1шт.

6

76040691

TOP COVER

1шт.

7

70679375

BREATHER

1шт.

8

8292188

CLAMP,Half

SAE 1

2шт.

9

16043431

SCREW,Hex, M8 x 1.25 x 20mm, Cl 10.9, Full Thd

20шт.

10

14496531

WASHER,8.4mm ID x 17mm OD x 1.6mm Thk

24шт.

11

14496731

WASHER,M12 x 24 x 2.5 Thk

52шт.

12

11112631

BOLT,Hex, M12 x 35mm, Cl 10.9

28шт.

13

16044331

SCREW,Hex, M8 x 1.25 x 55mm, Cl 10.9

4шт.

14

12645031

WASHER,8.45mm ID x 21mm OD x 3mm Thk

4шт.

15

14453681

O-RING,0.07" Thk x 0.801" ID, -19, Cl 7, 75 Duro

3шт.

16

14453881

O-RING,23.52mm ID x 1.78" Width

(M23.52 ID x 1.78 Thk)

1шт.

17

79067018

90 ELBOW,9/16-18 ORFS x M14 x 1.5 ORB

Assy, 90°

1шт.

18

546500

DOWEL

2шт.

19

76046785

GUARD

Inner

2шт.

20

79067024

ELBOW

Assy, 20/90°

1шт.

22

79066938

FITTING

Assy

1шт.

24

15981531

BOLT,Hex, M16 x 1.5 x 90mm, Cl 10.9

10шт.

25

14496931

WASHER,17mm ID x 30mm OD x 3mm Thk

10шт.

26

10119040

PLUG,M27 x 2 x 20, Brass

Assy

1шт.

27

10119140

PLUG

Assy, M42 x 2 x 16

1шт.

28

14438185

O-RING,24mm ID x 3mm

1шт.

29

14438385

O-RING,2.9mm Thk x 38.6mm ID, Cl 6, 90 Duro

M39 ID x 3.0 Thk

1шт.

30

14437785

O-RING,11.3mm ID x 2.4mm

1шт.

32

14437785

O-RING,11.3mm ID x 2.4mm

1шт.

34

14438085

O-RING,19.3mm ID x 2.4mm

1шт.

36

76040694

TUBE,52 mm ID, 56 - 58 mm OD, 509 mm Length

1шт.

37

586720

PLUG

1шт.

38

14464681

O-RING,56.74mm ID x 2.512" OD x 3.53mm

(M56.74 ID x 3.53 Thk)

1шт.

39

76040736

O-RING

1шт.

40

11112831

SCREW,Hex, M12 x 40mm, Cl 10.9, Full Thd

24шт.

41

87576971

TUBE,27 mm OD

1шт.

42

14420331

HEX SOC SCREW,M10 x 1.5 x 35mm, Cl 10.9, Full Thd

4шт.

43

76069916

COVER

1шт.

44

76040560

PLUG

2шт.

45

76054790

GUARD

1шт.

46

16043231

SCREW,Hex, M8 x 16mm, Cl 10.9, Full Thd

2шт.

47

76040707

TUBE

1шт.

Выбрано товаров: 42