Запчасти Case 1850K (6.701[01]) - BATTERY - SEAT AND SUPPORT Electrical System / Decals

Схема запчастей Case 1850K - (6.701[01]) - BATTERY - SEAT AND SUPPORT Electrical System / Decals
21
15
17
12
7
2
9
5.645
8
1
2
9
5
5
20
3
6
13
5
3
18
5
7
19
22
8
1
6
4
7
9
8
14
5
7
16
10
5
FIT
1:1
100%

Артикул

Название

Примечание

Количество

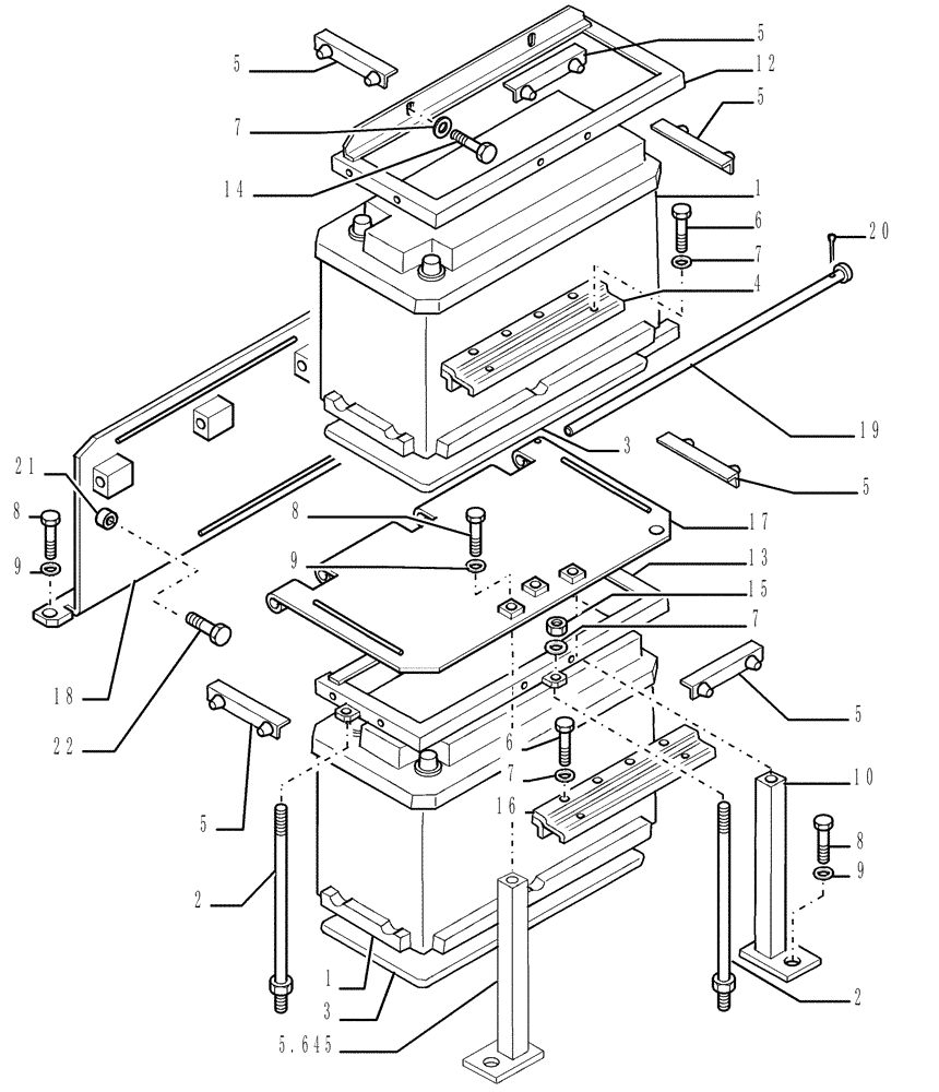
1

76054677

DRY BATTERY

Magneti - Marelli 155AH 12V 660A

2шт.

2

76074833

TIE-ROD

4шт.

3

79010787

PLATE

2шт.

4

79084347

BRACKET

1шт.

5

79099390

ANGLE

6шт.

6

16043031

BOLT,Hex, M8 x 12mm, Cl 10.9, Full Thd

4шт.

7

14496531

WASHER,8.4mm ID x 17mm OD x 1.6mm Thk

10шт.

8

11112231

SCREW,Hex, M12 x 1.75 x 25mm, Cl 10.9, Full Thd

6шт.

9

12648531

WASHER,12.2mm ID x 28mm OD x 4mm Thk

6шт.

10

76054961

SUPPORT

1шт.

12

76074832

CAPPING

Battery holdown

1шт.

13

76074831

CAPPING

Battery holdown

1шт.

14

16043631

SCREW,Hex, M8 x 25mm, Cl 10.9, Full Thd

2шт.

15

16100821

NUT,M8, Cl 10

4шт.

16

76079286

BRACKET

1шт.

17

87391166

SUPPORT

1шт.

18

87391167

SUPPORT

1шт.

19

76075468

PIN

1шт.

20

14601371

ROLL PIN,5mm OD x 30mm L

M5 x 30

1шт.

21

79103243

SPACER

1шт.

22

16040831

BOLT,Hex, M10 x 1.5 x 40mm, Cl 10.9, Full Thd

2шт.

23

79028421

GROUND CABLE

NOT ILLUSTRATED

1шт.

Выбрано товаров: 22