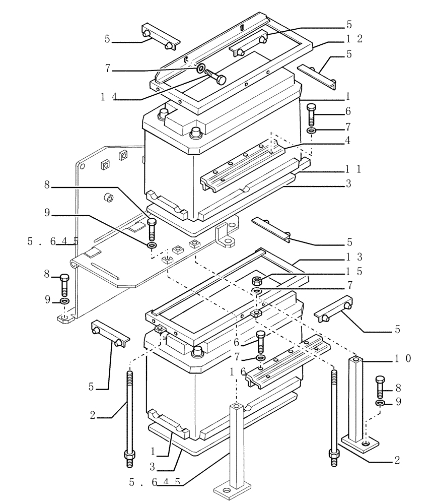
Запчасти Case 1850K LT (6.701[01]) - BATTERY - SEAT AND SUPPORT (13) - Electrical System / Decals

Схема запчастей Case 1850K LT - (6.701[01]) - BATTERY - SEAT AND SUPPORT (13) - Electrical System / Decals
7
3
5
11
7
5.645
5.645
5
8
5
9
13
9
6
6
2
1
15
10
7
8
4
3
5
14
9
2
16
7
5
1
5
12
8
FIT
1:1
100%

Артикул

Название

Примечание

Количество

1

71421589

DRY BATTERY

Magneti - Marelli 160AH 12V 650A

2шт.

2

76074833

TIE-ROD

4шт.

3

79010787

PLATE

2шт.

4

79084347

BRACKET

1шт.

5

4979701

PAD

6шт.

6

16043031

BOLT,Hex, M8 x 12mm, Cl 10.9, Full Thd

4шт.

7

14496531

WASHER,8.4mm ID x 17mm OD x 1.6mm Thk

10шт.

8

11112231

SCREW,Hex, M12 x 1.75 x 25mm, Cl 10.9, Full Thd

6шт.

9

12648531

WASHER,12.2mm ID x 28mm OD x 4mm Thk

6шт.

10

76054961

SUPPORT

2шт.

11

70731647

SEAL

1шт.

12

76074832

CAPPING

Battery holdown

1шт.

13

76074831

CAPPING

Battery holdown

1шт.

14

16043231

SCREW,Hex, M8 x 16mm, Cl 10.9, Full Thd

2шт.

15

16100821

NUT,M8, Cl 10

4шт.

16

76079286

BRACKET

1шт.

Выбрано товаров: 16