Запчасти Case 1850K LT (9.438[03]) - ADDITIONAL HYDRAULIC FUNCTION - LGP - OPTIONAL CODE 76074874 (19) - OPTIONS

Схема запчастей Case 1850K LT - (9.438[03]) - ADDITIONAL HYDRAULIC FUNCTION - LGP - OPTIONAL CODE 76074874 (19) - OPTIONS
1
2
4
2
2
6
2
9
2
3
1
2
4
6
2
8
8
9.436
9.522
6
6
2
10
5
5
4
4
10
FIT
1:1
100%

Артикул

Название

Примечание

Количество

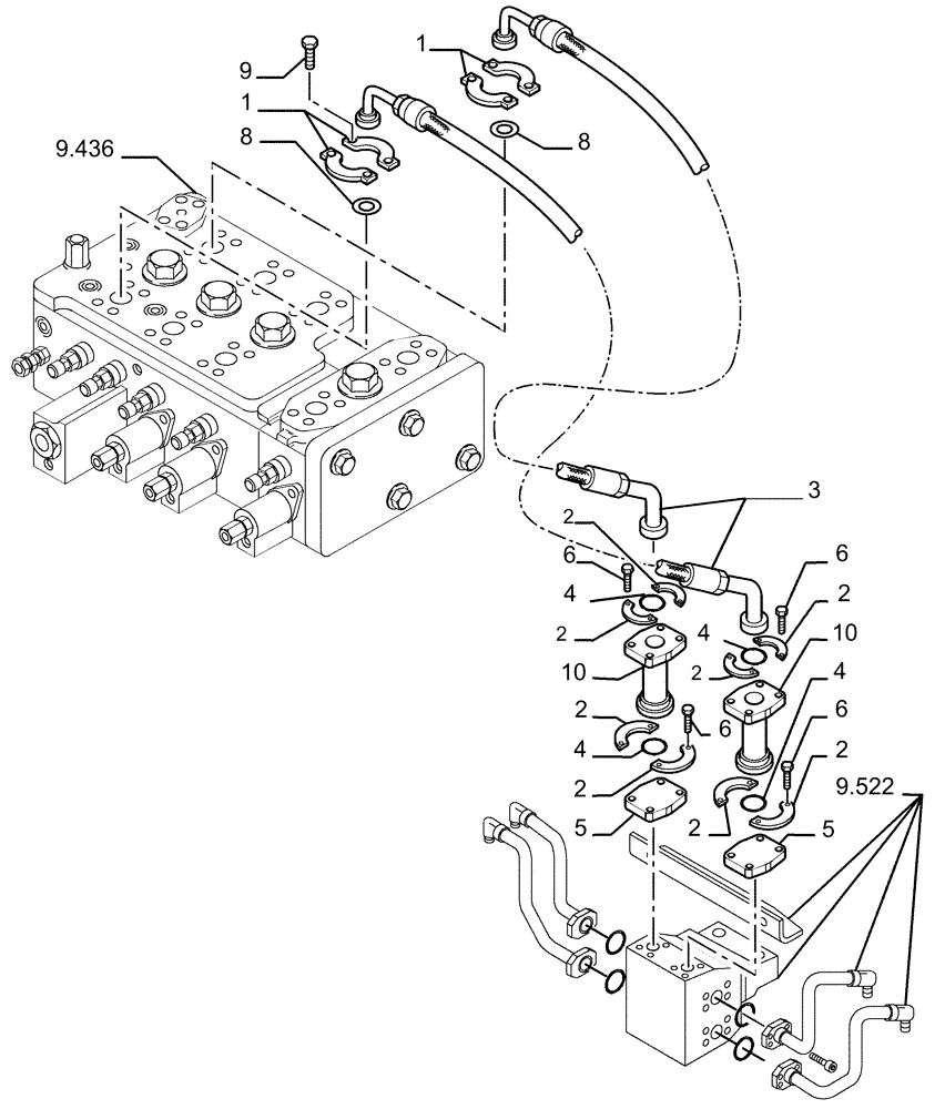
1

71404313

CLAMP,Half

4шт.

2

76007732

HALF-FLANGE

3/4"

8шт.

3

76071123

HYDRAULIC HOSE

1670 mm lg.

2шт.

4

14463281

O-RING,0.984" ID x 0.139" Width

4шт.

5

76074899

PLATE

2шт.

6

14420431

HEX SOC SCREW,M10 x 1.5 x 40mm, Cl 10.9, Full Thd

16шт.

8

14463781

O-RING,0.139" Thk x 1.296" ID, -219, Cl 7, 75 Duro

2шт.

8

70924200

O-RING

M32.92 ID x 3.53 Thk, In Alternative

2шт.

9

14422231

HEX SOC SCREW,M12 x 1.75 x 40mm, Cl 10.9, Full Thd

8шт.

10

76074872

TUBE,16 mm ID, 20 mm OD, 91 mm Length

M10.77 x 2.62

2шт.

Выбрано товаров: 0