Запчасти Case 1850K LT (0.071[01]) - MANIFOLDS (01) - ENGINE

Схема запчастей Case 1850K LT - (0.071[01]) - MANIFOLDS (01) - ENGINE
2
10
8
7
18
1
13
6
16
14
4
19
9
3
15
12
1
1
5
17
2
4
2
2
FIT
1:1
100%

Артикул

Название

Примечание

Количество

1

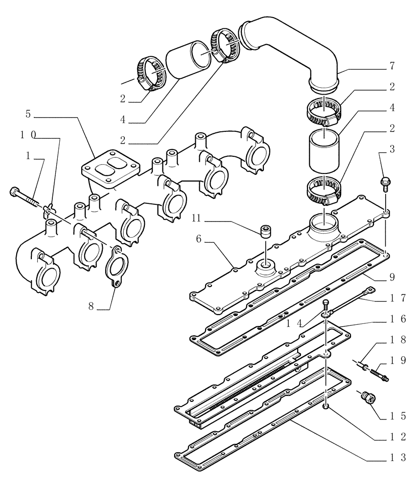
76192480

BOLT

M10 x 1.5 x 70

12шт.

2

76192464

HOSE CLAMP

4шт.

3

75286181

BOLT

M8 x 1.25 x 30

18шт.

4

76191728

HOSE

2шт.

5

76195084

EXHAUST MANIFOLD

1шт.

6

76191500

COVER

1шт.

7

75208279

TUBE

Intake

1шт.

8

76192346

GASKET

6шт.

9

76195083

GASKET

1шт.

10

75286617

LOCKING PLATE

12шт.

11

76106568

PLUG

1/2" NPT

1шт.

12

76192616

NUT

M8 x 1.35

1шт.

13

76192617

GASKET

1шт.

14

76192618

SCREW

M8 x 1.25 x 10

1шт.

15

76192295

FITTING

22 x 1.5 mm

1шт.

16

76193616

THERMOSTART

1шт.

17

76192621

CABLE

Thermostart

1шт.

18

76192622

BUSHING

1шт.

19

76192623

SCREW

1шт.

Выбрано товаров: 19