Запчасти Case 1850K LT (0.530[01]) - MUFFLER (01) - ENGINE

Схема запчастей Case 1850K LT - (0.530[01]) - MUFFLER (01) - ENGINE
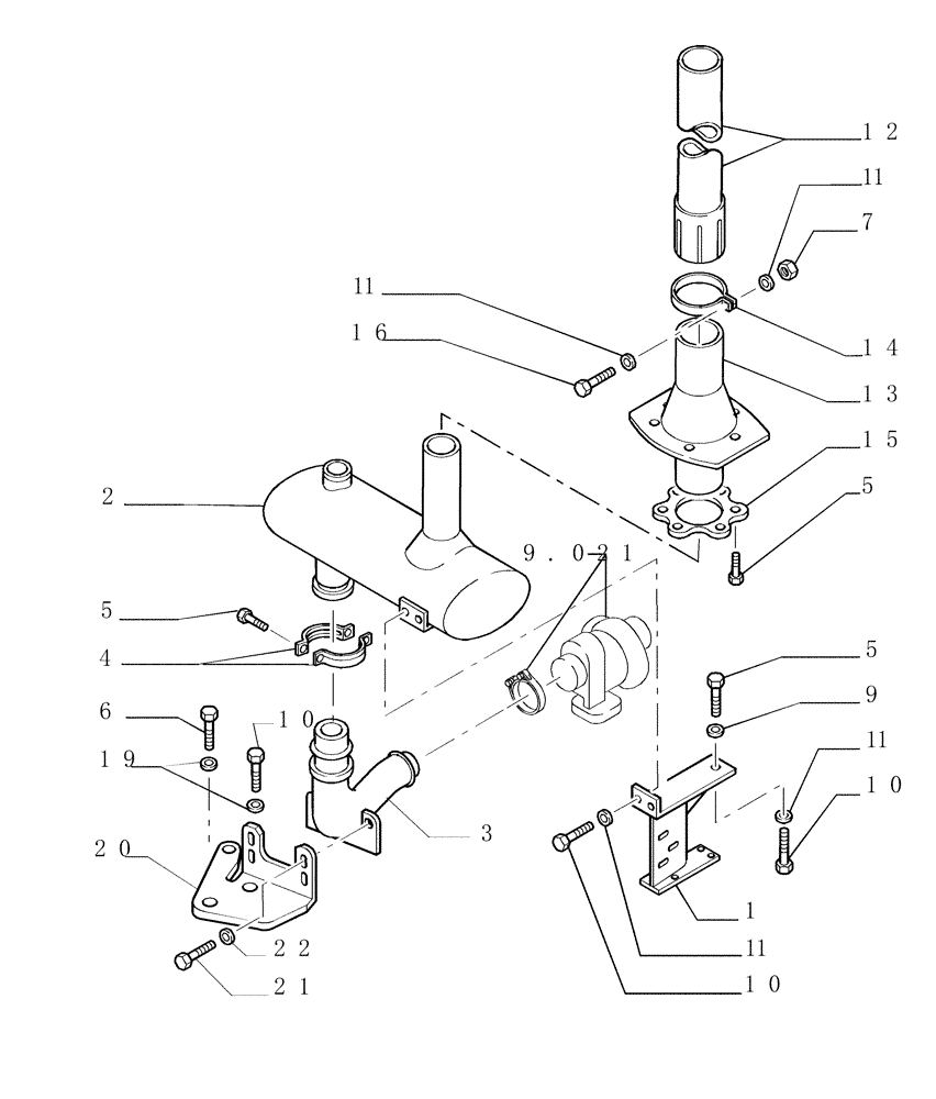
13
1
6
9
3
1
9.021
1
19
10
1
10
20
1
14
21
4
10
12
22
16
5
1
5
15
1
1
5
2
1
7
FIT
1:1
100%

Артикул

Название

Примечание

Количество

1

76046731

BRACKET

1шт.

2

76046738

MUFFLER

1шт.

3

76069611

ELBOW

1шт.

4

5109263

HOSE CLIP

2шт.

5

16043431

SCREW,Hex, M8 x 1.25 x 20mm, Cl 10.9, Full Thd

10шт.

6

11107731

SCREW,Hex, M10 x 75mm, Cl 10.9

1шт.

7

11701721

NUT,M10, Cl 10

1шт.

8

11106631

SCREW,Hex, M10 x 35mm, Cl 10.9, Full Thd

3шт.

9

12645031

WASHER,8.45mm ID x 21mm OD x 3mm Thk

6шт.

10

11106231

BOLT,Hex, M10 x 1.5 x 25mm, Cl 10.9

4шт.

11

12626231

WASHER,10.2mm ID x 25mm OD x 3mm Thk

6шт.

12

76075129

EXHAUST SYSTEM PIPE

1шт.

13

76053622

EXTENSION

1шт.

14

79092684

CLAMP

1шт.

15

79101898

PLATE

1шт.

16

11106631

SCREW,Hex, M10 x 35mm, Cl 10.9, Full Thd

2шт.

19

79005244

WASHER,10.6mm ID x 25mm OD x 6mm Thk

3шт.

20

76069644

BRACKET

1шт.

21

11112431

SCREW,Hex, M12 x 30mm, Cl 10.9, Full Thd

4шт.

22

14496731

WASHER,M12 x 24 x 2.5 Thk

4шт.

Выбрано товаров: 20