Качественные детали и логистика
Оригинальные и аналоговые запчасти с доставкой по России, Казахстану и Беларуси
©2022 PartSell ООО "Система" ИНН 2463123282 ОГРН 1212400004838
Центральный офис: г. Красноярск, Академика Киренского, д.87, пом.4
Телефон: 8 (800) 777-65-74 Email: zakaz@partsell.ru
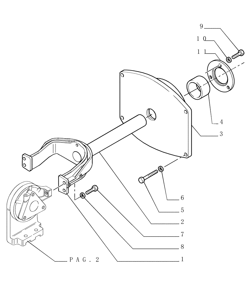
(2.346[03]) - TRACK IDLER - YOKE
№
Артикул
Название
Примечание
Количество
1
76040873
YOKE
2шт.
2
76040872
ROD
3
76040860
COVER
4
76040861
BUSHING
5
11112431
SCREW,Hex, M12 x 30mm, Cl 10.9, Full Thd
8шт.
6
14496731
WASHER,M12 x 24 x 2.5 Thk
7
15981034
BOLT,Hex, M16 x 1.5 x 55mm, Cl 10.9
8
14496931
WASHER,17mm ID x 30mm OD x 3mm Thk
9
16043231
SCREW,Hex, M8 x 16mm, Cl 10.9, Full Thd
12шт.
10
12645031
WASHER,8.45mm ID x 21mm OD x 3mm Thk
11
76068470
RETAINING PLATE
Выбрано товаров: 0